مدت هاست زمانی که حرف از گوشی هوشمند بعدی مایکروسافت میشود، تمام ذهن ها به سمت گوشی انقلابی سرفیس فون کشیده میشوند. مایکروسافت نتوانست موفقیت بزرگی را با برند نوکیا در صنعت موبایل کسب کند به همین دلیل قصد دارد تا با برند سرفیس و ارائه ی یک گوشی متفاوت باری دیگر شانس خود را زمینه ی گوشی های هوشمند امتحان کند. کار مایکروسافت با وجود رقبای قدرتمندی از جمله اپل، سامسونگ و حتی گوگل بسیار سخت است. با این حال مایکروسافت کمپانی بزرگی است و قدرت بر هم زدن معادلات را دارد. انتظار میرود سرفیس فون دارای ویژگی هایی باشد که تاکنون در هیچ گوشی هوشمند دیگری وجود نداشته است. تا امروز تصاویر مفهومی مختلف و گزارشات متعددی از سرفیس فون منتشر شده است و مطمئنا این روند تا زمان معرفی این دستگاه ادامه خواهد داشت. هر چند زمانی را برای معرفی سرفیس فون نمیتوان پیش بینی کرد و مایکروسافت نیز زمانی را برای این رویداد بزرگ مشخص نکرده است. با این حال بعید است که در سال 2017 شاهد ورود سرفیس فون به بازار باشیم. اجرای ایده ای که مایکروسافت برای ساخت یک گوشی خارق العاده در سر دارد زمان بر است، بنابراین مدت بیشتری را برای ملاقات با سرفیس فون باید منتظر بمانیم.

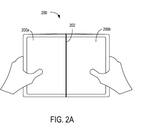
به ماه ژانویه باز میگردیم زمانی که یک پتنت از سوی مایکروسافت برای تولید یک گوشی هوشمند 2 در 1 ثبت شد. این دستگاه قابلیت استفاده به عنوان یک گوشی و در عین حال یک تبلت را دارا میباشد. در حالی که نمیتوان با قاطعیت گفت که این همان سرفیس فونی است که انتظارش را میکشیم، احتمال این موضوع وجود دارد. اکنون مایکروسافت یک پتنت دیگر از یک گوشی هوشمند تاشو را ثبت کرده است که مشابه پتنت قبلی و منتسب به سرفیس فون است. ایده ی ساخت یک گوشی قابل خم چیز جدیدی نیست و مایکروسافت در این زمینه رقبایی مانند سامسونگ و ال جی را مقابل خود میبیند. سامسونگ نیز چندین پتنت در مورد گوشی هوشمند تاشوی خود ثبت کرده است و این دستگاه شاید اواخر سال 2017 توسط سامسونگ معرفی شود. ال جی نیز در ماه ژانویه سه پتنت را در مورد گوشی هوشمند تاشوی خود ثبت کرد که امکان تبدیل شدن از گوشی به تبلت را دارد.

در حال حاضر مایکروسافت تولید گوشی های لومیا را متوقف کرده است و کمپانی های معدودی از جمله اچ پی به تولید گوشی های مجهز به ویندوز 10 موبایل مشغول هستند. با این حال طبق شایعات، بر روی سرفیس فون سیستم عامل نسخه ی پروفشنال ویندوز 10 نصب خواهد بود که به واسطه ی پردازنده های اینتل، قادر به اجرای نرم افزارهای دسکتاپ خواهد بود. بنابراین کاری که با سرفیس پرو انجام شد، با سرفیس فون نیز صورت خواهد گرفت. نام پتنت جدید مایکروسافت Display Device است و توسط Microsoft Technology Licensing ثبت شده است. طراحی این پتنت ها توسط Timoty Andrew Large و Steven Bathitch انجام شده بود است و این پتنت با شماه ی US2017/0086308 A1 در سازمان ثبت پتنت های ایالات متحده ثبت شده است.








دیدگاهتان را بنویسید