موضوعات داغ
  • بتلفیلد 6
  • گوشی‌های سری گلکسی S26
  • آیفون 17 اپل
  • بازی GTA VI
  • گلکسی S25 FE
  • دینو
سخت افزار مگ
  • اخبار و مقالات
    • گوشی موبایل
      • لوازم جانبی موبایل
    • تبلت
    • لپ تاپ
    • دسکتاپ
      • مادربرد
      • پردازنده مرکزی
      • کارت گرافیک
      • تجهیزات ذخیره سازی
      • حافظه
      • صفحه نمایش
      • تجهیزات جانبی
    • تصویرگری دیجیتال
    • صوتی و تصویری
    • شبکه
    • نرم افزار و بازی
    • کالبدشکافی قطعات
    • مطالب گوناگون
  • بررسی
    • بررسی گوشی موبایل
    • بررسی تبلت
    • بررسی لپ تاپ
    • دسکتاپ
      • بررسی کولر و فن
      • بررسی مادربرد
      • بررسی کارت گرافیک
      • بررسی تجهیزات ذخیره سازی
      • بررسی حافظه
      • بررسی منبع تغذیه و کیس
      • بررسی تجهیزات جانبی
      • بررسی صفحه نمایش
    • بررسی تصویرگری دیجیتال
    • بررسی صوتی و تصویری
    • بررسی شبکه
    • بررسی نرم افزار و بازی
    • بررسی گوناگون
  • راهنمای خرید
    • سیستم پیشنهادی
  • لیست قیمت
    • گوشی موبایل
      • لیست قیمت روز گوشی‌های سامسونگ
      • لیست قیمت روز گوشی‌های شیائومی
      • لیست قیمت روز گوشی‌های هواوی
      • لیست قیمت روز گوشی های آنر
    • تبلت
    • لپ‌تاپ
    • قطعات کامپیوتر
      • لیست قیمت پردازنده
    • محصولات اپل
    • تجهیزات شبکه
    • لوازم خانگی
    • صوتی و تصویری
    • دوربین دیجیتال
    • تجهیزات بازی
    • خودرو
  • ویژه
    • مسابقات
    • نمایشگاه
تبلیغات
تبلیغات
تبلیغات

نرم افزار و بازی

کنسول جدید نینتندو میانه ای با بازی های فیزیکی ندارد!

Avatarتوسط رضا حسینی ·31 مرداد 139431 مرداد 1394· 9

کمپانی نینتندو شاید اکنون یکی از پر چالش ترین دوران تاریخ خود را سپری می کند. کنسول خانگی این شرکت یعنی وی یو اکنون به یکی از بد ترین محصولات تاریخ این کمپانی تبدیل شده و سکان دار کار بلد نینتندو یعنی ساتورو ایواتا نیز چندی پیش دار فانی را وداع گفت. از آن گذشته نینتندو حضور چندان موفقی نیز در نمایشگاه های معتبر سال جاری در زمینه ی بازی های کامپیوتری (از جمله E3 و گیمز کام) نداشت و مجموع تمامی این موارد در کنار هم، شاید اکنون موجبات نگرانی شدید هواداران نینتندو را فراهم آورده باشد. در این میان اعضای نینتندو اما یک نقطه امید قابل توجه برای بازگشت به میدان مبارزه دارند. کنسولی جدید که فعلاً با نام موقت NX شناخته می شود و از زمان معرفی رسمی آن توسط نینتندوف ماه های چندان زیادی نمی گذرد. به تازگی وب سایت نئو گف اطلاعات جدیدی را در مورد این کنسول مرموز منتشر ساخته که نکات جالبی را در بر می گیرند.

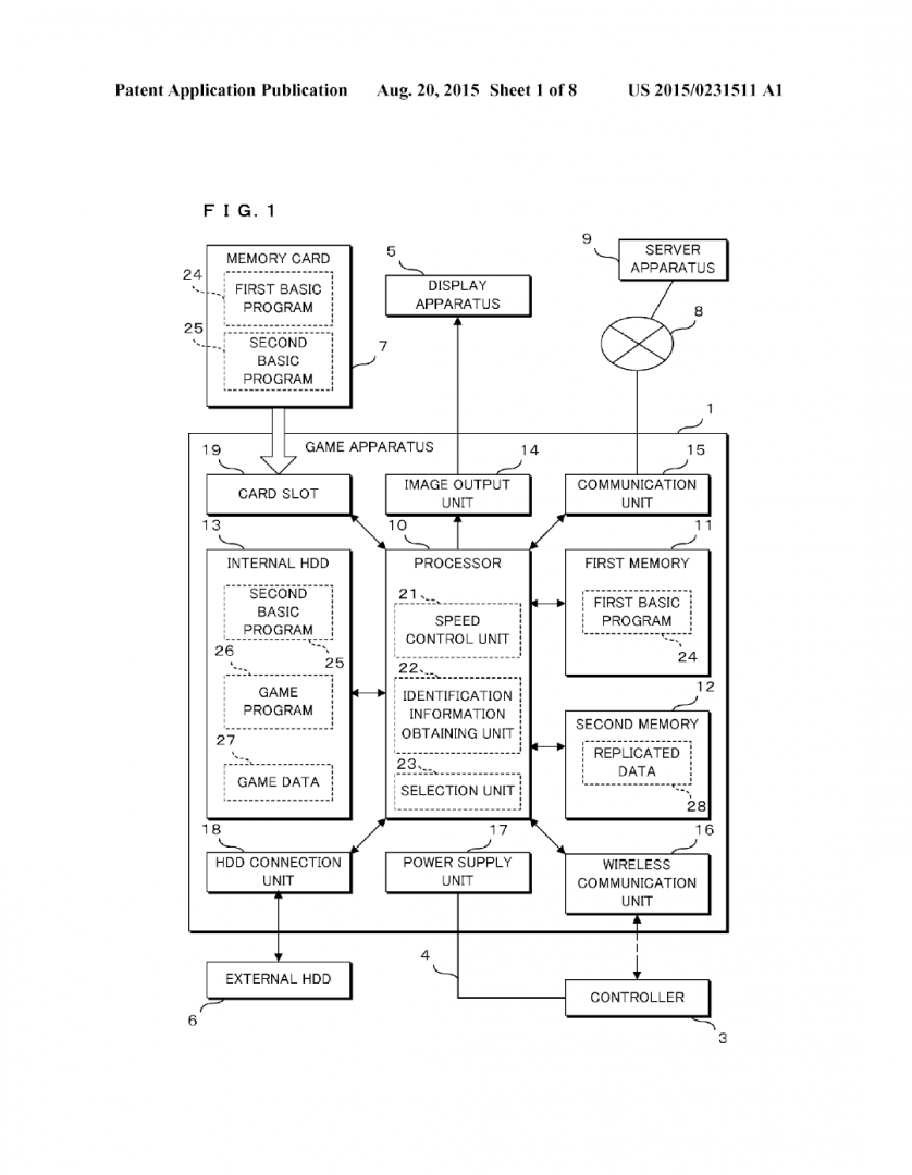
در واقع نئو گف این اطلاعات را از طریق تقاضای رسمی نینتندو برای ثبت حق امتیاز این کنسول جدید به دست آورده است و آن چه از این کنسول (در طی تقاضای ثبت مذکور) منتشر شده تصویری است که معماری کلی NX را به نمایش در آورده است. جالب این جاست که در این تصویر (که آن را در زیر مشاهده می کنید) هیچ خبری از درایو نوری یا درایو دیسک گردان به چشم نمی خورد و این امر نشان از آن دارد که کنسول جدید نینتندو از بازی های فیزیکی یا عناوین مبتنی بر دیسک پشتیبانی نخواهد کرد. در این میان تحلیل گران نئو گف معتقدند که شاید نینتندو قصد دارد پس از بیست سال دوباره به دوران موفق کنسول نینتندو 64 (آخرین کنسول کارتریج خور نینتندو) باز گردد و باز هم از کارتریج در ساختار کنسول جدید خود بهره ببرد (شخصاً هر چقدر در این تصویر دقیق شدم متوجه نشدم که اعضای نئو گف چگونه به چنین نتیجه ای رسیده اند و شیار کارتریج دستگاه را در کجا یافته اند!). با این حال این تحلیل در چنین دوره و زمانه ای چندان منطقی و واقعی به نظر نمی رسد و بعید است که اعضای نینتندو بخواهند عقب گرد کنند و باز هم سراغ کارتریج بروند.

 Nintendo Patent

در واقع آن چه از معماری به تصویر کشیده شده در عکس فوق بر می آید (سوای وجود کنترلر وایرلسی که این محصول را جایگزینی برای وی یو جلوه می دهد) بیشتر تایید همان شایعاتی است که پیش از این در مورد NX شنیده بودیم. این که کنسول جدید نینتندو قرار است تمرکز ویژه ای بر روی اجرای عناوین اندروید و استریم کردن بازی ها داشته باشد. در واقع قرار داد نسبتاً جدید نینتندو با شرکت دنا که طبق مفاد موجود در آن، این شرکت قرار است عناوین شاخص نینتندو را به دنیای اندروید بیاورد نیز بیش از پیش این شایعات را به حقیقت نزدیک می کنند. با این حال سران نینتندو پیش از شروع E3 امسال شایعات مذکور را تکذیب کردند و اعلام داشتند که سیستم عامل اصلی کنسول جدید آن ها به هیچ وجه اندروید نیست و آن ها دوست ندارند که تجربه ی تلخ میکرو کنسول استریم کننده ی Ouya را دوباره تکرار کنند. به هر حال چه کنسول نینتندو از سیستم عامل اندروید بهره ببرد و چه نه، آن چه مسلم به نظر می رسد این است که کنسول جدید این کمپانی یا همان NX از نسخه ی فیزیکی بازی ها بهره نخواهد برد و تنها مبتنی بر اجرای نسخه ی دیجیتالی آن ها خواهد بود. در واقع این امر با توجه به برنامه های نینتندو برای بهره گیری از یک شبکه ی آنلاین پویا (که اخبار و شایعات مربوط به آن از چندین ماه قبل به گوش می رسیدند) کاملاً منطقی به نظر می رسد و محتمل است که نینتندو این بار بخواهد حساب ویژه ای بر روی کاربران آنلاین خود باز کند. از آن جا که اعضای نینتندو انتشار اطلاعات تازه از کنسول NX را به سال آینده ی میلادی موکول کرده اند، به نظر می رسد باید چندین ماه دیگر نیز انتظار بکشیم تا بتوانیم به گونه ای جدی تر با ساز و کار کنسول NX آشنا شویم.  

 

برچسب‌ها: اخبار گیم, بازی, بازی و گیم, کنسول بازی, کنسول جدید, نینتندو

بدون امتیاز
کمی صبر کنید...
تبلیغات
تبلیغات
سرخط خبرها:
  1. سازنده بازی‌های سایبرپانک و ویچر فروشگاه دیجیتالی GOG را فروخت
  2. لپ تاپ HP OmniBook 5 با Ryzen AI 5 430؛ رم 8 گیگابایتی و قیمت 779 دلار
  3. تولید تراشه های 3 نانومتری TSMC زودتر از موعد مقرر در آمریکا آغاز می‌شود
  4. خرید استارتاپ Manus توسط متا و حاشیه‌های یک معامله 2 میلیارد دلاری
  5. فراتر از یک رویا: ابرخودروی چهاردر چینی با قدرت 1000 اسب بخار و چرخ‌های وانت!

مطالب مرتبط ...

  • 0

    دو بازی سری تامب رایدر به قابلیت Backward Compatibility  کنسول ایکس باکس وان اضافه شدند

    Avatarتوسط سجاد رجا · 25 مرداد 1397 · 22 اسفند 1398

  • 1

    اتومبیل 500 اسب بخاری ولکس واگن برای بازی Gran Turismo 6

    Avatarتوسط حسام شالیکاریان · 27 فروردین 1394 · 27 فروردین 1394

  • 0

    حادثه غم‌انگیز مسابقات F2 بروزرسانی جدید بازی F1 2019 را با ابهام مواجه کرد

    Avatarتوسط سینا راد · 10 شهریور 1398 · 10 شهریور 1398

مطالب گوناگون از دینو

کدام داروها می‌توانند تحمل گرما را سخت‌تر کنند؟

10 فیلم فوق‌ العاده که به شما کمک می کند بچه ها را بهتر درک کنید

چگونه از نشخوار افکار منفی و تجربیات گذشته خودداری کنیم؟

9 دیدگاه

  • دیدگاه9
  1. Avatar Navid گفت:
    3 شهریور 1394 در 10:54 ق.ظ

    laptop model: dell inspiron 15r 5537
    gpu:amd radeon hd 8670m
    cpu:intel core i5
    ram:4gb
    hard:1tb
    مرسی.

    پاسخ
  2. Avatar حسام پورخلیل گفت:
    2 شهریور 1394 در 10:44 ب.ظ

    سلام
    مشخصات سیستمتونو اعلام کنید دوست عزیز

    پاسخ
  3. Avatar دانیال گفت:
    2 شهریور 1394 در 6:35 ب.ظ

    😡

    پاسخ
  4. Avatar بهزاد گفت:
    1 شهریور 1394 در 4:31 ب.ظ

    ممنون رضا جان. من بهت میگم رضا جان. چون به اقاتی رضا چشمی هم همینو میگم. شما هم بگید بهزاد جان:-))

    پاسخ
  5. Avatar رضا حسینی گفت:
    1 شهریور 1394 در 4:28 ب.ظ

    سلام. آدرس ایمیل شما دریافت شد گرامی. ظرف دو سه روز آینده سرم واقعاً شلوغ هست و وقت نمی کنم. اما قول صد درصد میدم آخر هفته به همین ایمیل آدرس، ایمیلی بفرستم تا شما هم آدرس ایمیل بنده رو داشته باشید.
    ممنون از صبر و حوصله تون.

    پاسخ
  6. Avatar makan ansari گفت:
    1 شهریور 1394 در 4:11 ب.ظ

    اگر بخش گرافیکیش رو بالا نبره همه گیر نخواهد بود.

    پاسخ
  7. Avatar بهزاد گفت:
    1 شهریور 1394 در 1:26 ب.ظ

    به نظر من این کار خیلی زود هست که شما دیسک را کنار بگذارید!:-q

    اقای حسینی این ایمیل من. شما هم بدید ایمیلتونا:-smile

    behzadmikami2014@gmail.com

    پاسخ
  8. Avatar حسین گفت:
    1 شهریور 1394 در 1:24 ب.ظ

    استریم کردن بازی به سخت افزار آنچنانی احتیاجی ندارد و باید دید که نینتندو با بستر سازی مناسب میتواند گیمرها را به سوی خود جلب بکند !!!!

    پاسخ
  9. Avatar navid گفت:
    1 شهریور 1394 در 11:05 ق.ظ

    سلام
    وقتی بازی Gtav به کارت گرافیک Amd سوئیچ میکنم بازی اجرا نمیشه
    و فقط در تسک منیجر میمونه در حالی که در قسمت سوئیچ گرافیک بازی رویه حالت Power saving قرار میدم بازی اجرا میشه
    ولی لگ زیاده و fps مناسب نیست که در این حالت فک کنم از intel hd داره استفاده میکنه ولی زمانی که بازی رویه حالت
    High performance قرار مید که با کارت گرافیک amd بازی اجرا کنه مشکل بالا پیش میاد
    کمککککککککک
    ببخشید به مطلب ربط نداشت;);););)

    پاسخ

دیدگاهتان را بنویسید لغو پاسخ

نشانی ایمیل شما منتشر نخواهد شد. بخش‌های موردنیاز علامت‌گذاری شده‌اند *

در صورتی که نظر شما حاوی ناسزا، عبارات توهین‌آمیز و تهدید بوده و در تضاد با قوانین فعلی کشور باشد از انتشار آن بدون حذف موارد ذکر شده، معذوریم.
شکلک‌ها (اموجی‌ها) را می‌توانید با کیبرد گوشی یا کیبرد مجازی ویندوز قرار دهید.
تصاویر نویسندگان دیدگاه از Gravatar گرفته می‌شود.

پربحث‌ترین‌ها

  • 7,764

    راهنمای خرید و مشاوره سیستم کامپیوتر با بودجه های مختلف (دی 1404)

  • راهنمای خرید گوشی موبایل آذر 491

    راهنمای خرید گوشی موبایل بر اساس بودجه‌های مختلف (دی 1404)

  • راهنمای خرید مانیتور آذر 1404 70

    راهنمای خرید مانیتور با بهترین قیمت در بودجه‌های مختلف (دی 1404)

  • دفاع کارگردان هنری Cyberpunk 2 از موتور Unreal Engine 5 3

    کارگردان هنری Cyberpunk 2 از موتور گرافیکی Unreal Engine 5 دفاع کرد

آخرین بررسی‌ها

8.8

تماشا کنید: بررسی گوشی گلکسی A17 4G سامسونگ؛ اقتصادی تازه‌نفس

8.8

بررسی لپ تاپ MSI Vector 16 HX - اژدهای همه‌فن‌حریف

9.6

تماشا کنید: بررسی Aorus FO27Q3 گیگابایت | بهترین مانیتور گیمینگ 2025؟

8.9

بررسی پاور UD1300GM PG5 گیگابایت

9.4

بررسی واترکولر GAMING 360 ICE گیگابایت

آخرین مطالب دینو

چگونه اینستاگرام در زمان کوتاهی زندگی ما را متحول کرد؟

اگر به دورانی که اینترنت و وب‌سایت‌ها مهمترین فضاهای…

  • معرفی بهترین موسیقی‌های کلاسیک جهان که حتماً باید گوشی دهید

  • بهترین مبل برای جهیزیه | انتخابی شیک، کاربردی و ماندگار

  • لیستی از بهترین فیلم‌های آل پاچینو: درخشش یک نابغه سینما

  • آداب هدیه دادن و هدیه گرفتن؛ راهی برای بیان احساس و احترام

  • مطلب بعدی ابتدای پاییز را در دنیای لگو ها بگذرانید
  • مطلب قبلی مادربردهای دسکتاپ مزین به USB-C،به لطف ASUS
  • آخرین مطالب
  • محبوب‌ترین مطالب
  • استقلال فروشگاه دیجیتالی GOG

    سازنده بازی‌های سایبرپانک و ویچر فروشگاه دیجیتالی GOG را فروخت

  • لپ تاپ HP OmniBook 5 با Ryzen AI 5 430؛ رم 8 گیگابایتی و قیمت 779 دلار

    لپ تاپ HP OmniBook 5 با Ryzen AI 5 430؛ رم 8 گیگابایتی و قیمت 779 دلار

  • تولید تراشه های 3 نانومتری TSMC زودتر از موعد مقرر در آمریکا آغاز می‌شود

  • خرید استارتاپ Manus توسط متا و حاشیه‌های یک معامله 2 میلیارد دلاری

  • فراتر از یک رویا: ابرخودروی چهاردر چینی با قدرت ۱۰۰۰ اسب بخار و چرخ‌های وانت!

    فراتر از یک رویا: ابرخودروی چهاردر چینی با قدرت 1000 اسب بخار و چرخ‌های وانت!

  • 7,764

    راهنمای خرید و مشاوره سیستم کامپیوتر با بودجه های مختلف (دی 1404)

  • راهنمای خرید گوشی موبایل آذر 491

    راهنمای خرید گوشی موبایل بر اساس بودجه‌های مختلف (دی 1404)

  • راهنمای خرید مانیتور آذر 1404 70

    راهنمای خرید مانیتور با بهترین قیمت در بودجه‌های مختلف (دی 1404)

  • قدرت‌نمایی AMD با حافظه کش 288 مگابایتی در پردازنده‌های Zen 6 3

    قدرت‌نمایی AMD با حافظه کش 288 مگابایتی در پردازنده‌های Zen 6

  • دفاع کارگردان هنری Cyberpunk 2 از موتور Unreal Engine 5 3

    کارگردان هنری Cyberpunk 2 از موتور گرافیکی Unreal Engine 5 دفاع کرد

آخرین دیدگاه‌ها

  • Avatar
    الهه گفته است:
    سلام دیجیتال ماداریم آی فیلم میبینیم خودب خودمیره روشبکه نمایش. کسی...
  • Avatar
    آلفرد نوبل گفته است:
    من از آینده میام سال 2026😂 هنوز که هنوزه ای ام...
  • Avatar
    آلفرد نوبل گفته است:
    سلام، بشدت بهتره اصلأ یه دنیای دیگست انگار 15 سال اختلاف...
  • Avatar
    مسعود نصیری گفته است:
    صرفا اجرای موفقیت آمیز در آدرس http://localhost:8080 دلیل نمیشه شما سرور...
  • Avatar
    ... گفته است:
    واقعا چرا حذف میکنن وقتی میدونن انقدر خواهان داره!؟ متوجه نمیشم...
  • Avatar
    رضا گفته است:
    شیائومی بلا
  • Avatar
    آشتیانی گفته است:
    بهترین موتور یعنی با کمترین منابع سیستمی خروجی خوبی به اکثر...
  • Avatar
    مسود گفته است:
    منم همچین مشکلی برام پیش اومد. حدود ده سال عمر پاورمه...
  • Avatar
    Ali Fahimi گفته است:
    چطوری می توانم بدانم کیس ما تو چی موقعیت است
  • Avatar
    علیرضا گفته است:
    سلام دوست عزیزی که این متن رو نوشتی ، سوالی دارم...
راهنمای خرید مانیتور آذر 1404 70
راهنمای خرید و مشاوره
راهنمای خرید مانیتور با بهترین قیمت در بودجه‌های مختلف (دی 1404)
6 دی 1404
راهنمای خرید گوشی موبایل آذر 491
راهنمای خرید و مشاوره
راهنمای خرید گوشی موبایل بر اساس بودجه‌های مختلف (دی 1404)
5 دی 1404
7,764
راهنمای خرید و مشاوره سیستم پیشنهادی هایلایت
راهنمای خرید و مشاوره سیستم کامپیوتر با بودجه های مختلف (دی 1404)
3 دی 1404
راهنمای خرید لپ تاپ گیمینگ 469
راهنمای خرید و مشاوره هایلایت
راهنمای خرید لپ تاپ گیمینگ با بودجه های مختلف (آذر 1404)
12 آذر 1404
راهنمای خرید لپ تاپ با بودجه های مختلف 1,303
راهنمای خرید و مشاوره
راهنمای خرید لپ تاپ با بودجه های مختلف (دی 1404)
11 آذر 1404
راهنمای خرید و مشاوره هدفون و هدست با بودجه های مختلف (آبان 1404) 0
اخبار و مقالات راهنمای خرید و مشاوره هایلایت
راهنمای خرید و مشاوره هدفون و هدست با بودجه های مختلف (آبان 1404)
27 آبان 1404
  • سخت‌افزارمگ
  • درباره ما
  • تبلیغات
  • استخدام
سخت‌افزارمگ

© 2025 Sakhtafzarmag.Com. All Rights Reserved.

صفحه نخست » اخبار و مقالات » نرم افزار و بازی » کنسول جدید نینتندو میانه ای با بازی های فیزیکی ندارد!

ورود

عضویت

رمزتان را گم کرده‌اید؟

عضویت | رمزتان را گم کرده‌اید؟
| بازگشت به ورود