شاید آخرین چیزی که به نظرمان در خودرو ها نیاز به نوآوری و تغییر دارد پنجره های آن باشد، شاید هم تنها تکنولوژی مربوط به این بخش از خودرو که به ذهنمان برسد شیشه بالابر های برقی باشند. شرکت هوندا تصمیم گرفته تا با ثبت پتنتی جدید قدمی در راستای پیشرفت تکنولوژی شیشه پنجره خودرو ها بردارد. در ادامه مطلب به بررسی اینکه ایده جدید هوندا چیست و چه قابلیت ها و کاربردی خواهد داشت می پردازیم.
کار اصلی پنجره ها در خودرو جلوگیری از ورود برف و باران و مواردی از این قبیل در عین فراهم کردن فضای دید کافی برای راننده و سرنشینان است. اما گاهی شرایطی به وجود می آید که نور محیط برای راننده یا سرنشینان آزار دهنده می باشد و در اینچنین شرایطی نیاز به وجود سایه بان یا موانعی برای کاهش نور بشدت حس می شود. افراد برای جلوگیری از وقوع اینچنین شرایطی به شیشه های خودرو هایشان برچسب هایی نیمه شفاف می چسبانند که در عین جلوگیری از ورود نور اضافی دید کافی برای راننده نیز باقی میگذارند. اما هوندا چاره ای متفاوت برای مقابله با این شرایط در نظر دارد.
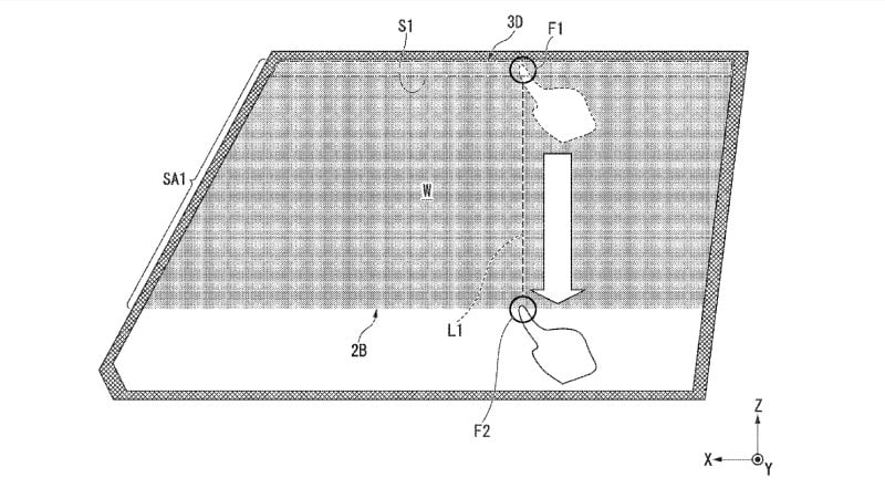
بجای چسباندن برچسب های نیمه شفاف روی شیشه ها هوندا قصد دارد تا از شیشه هایی استفاده کند که سطح آنها برای میزان عبور نور قابل تنظیم هستند، چیزی مانند لنز های انتقال نور یا سانروف هوشمندی که مرسدس بنز در خودرو های S600 میباخ از آنها استفاده کرده است. البته در میباخ ها این قابلیت توسط دکمه های تنظیم کننده در کنسول وسط کنترل می شدند اما پتنت هوندا تنظیم قابلیت های شیشه را لمسی تصویر کرده است، به صورتی که با لمس انگشت روی شیشه میزان نورگیری آن مشخص خواهد شد. مطمئنا شرکت های دیگر نیز به سرعت از این پتنت ایده خواهند گرفت و میتوان حدس زد که از این چنین شیشه هایی برای کنترل لمسی قسمت ها و کاربرد های مختلف استفاده شود.
برای اطلاع از جدیدترین اخبار دنیای دیجیتال، قیمت انواع قطعات سخت افزاری و تجهیزات الکترونیکی، آگاهی از اخبار مرتبط با تکنولوژی از جمله نوسان قیمت ارز، تصاویر، ویدئوها و مطالب آموزشی اختصاصی به کانال تلگرام وب سایت سخت افزار بپیوندید: telegram.me/sakhtafzarmag









ممنون از شما بخاطر همراهی با سایت سخت افزار و مطالعه مطالب بنده
جالب بود
ما هم داریم پراید را در اشکال مختلف با نام های مختلف بهینه سازی میکنیم.همینه اونا پیشرفت میکنن ما با کله داریم میریم پاین
مرسی آقای شریعتی راد از مطالبتون. ما سایت شما رو دوست داریم:)