حق اختراع جدیدی از AMD برای معماری هایبرید پیدا شده که درباره هستههای بزرگ و کوچک در نسلهای آینده رایزنهای صحبت میکند. شایعات قبلی مطرح شده بود که تیم سرخ قصد دارد در آینده از معماری هایبرید در چیپهای خود استفاده کند، امری که اینتل خیلی زودتر آن را با خانواده نسل دوازدهم Alder Lake عملی خواهد کرد. حالا نیز پتنت Task Transition کم و بیش این موضوع را برای پردازندههای AMD تایید میکند.
حضور هستههای بزرگ و کوچک یا همان طراحی هایبرید ترکیب هستههایی با معماری و عملکرد متفاوت است که چند سالیت در پردازندههای ARM استفاده میشود. اخیرا نیز اینتل با سیستم روی چیپ Lakefield و ترکیب هستههای Atom و Cove چنین راهکاری را به پلتفرم x86 آورده. طراحی هایبرید میتواند قدم بعدی در پلتفرم x86 باشد اما هنوز شاهد گسترش آن نیستیم و نرم افزارها نیز آماده استفاده از پتانسیل موجود نیستند.
حق اختراع AMD برای معماری هایبرید

اما نسلهای آینده اینتل و AMD این موضوع را تغییر میدهند و به نظر میرسد که یک به روز رسانی بزرگ برای ویندوز (ویندوز 11) به این انتقال کمک خواهد کرد. مشخصا تیم سرخ قصد دارد از این فناوری در چیپهای خود استفاده کند اما براساس شایعات فعلا در مراحل اولیه قرار دارد.
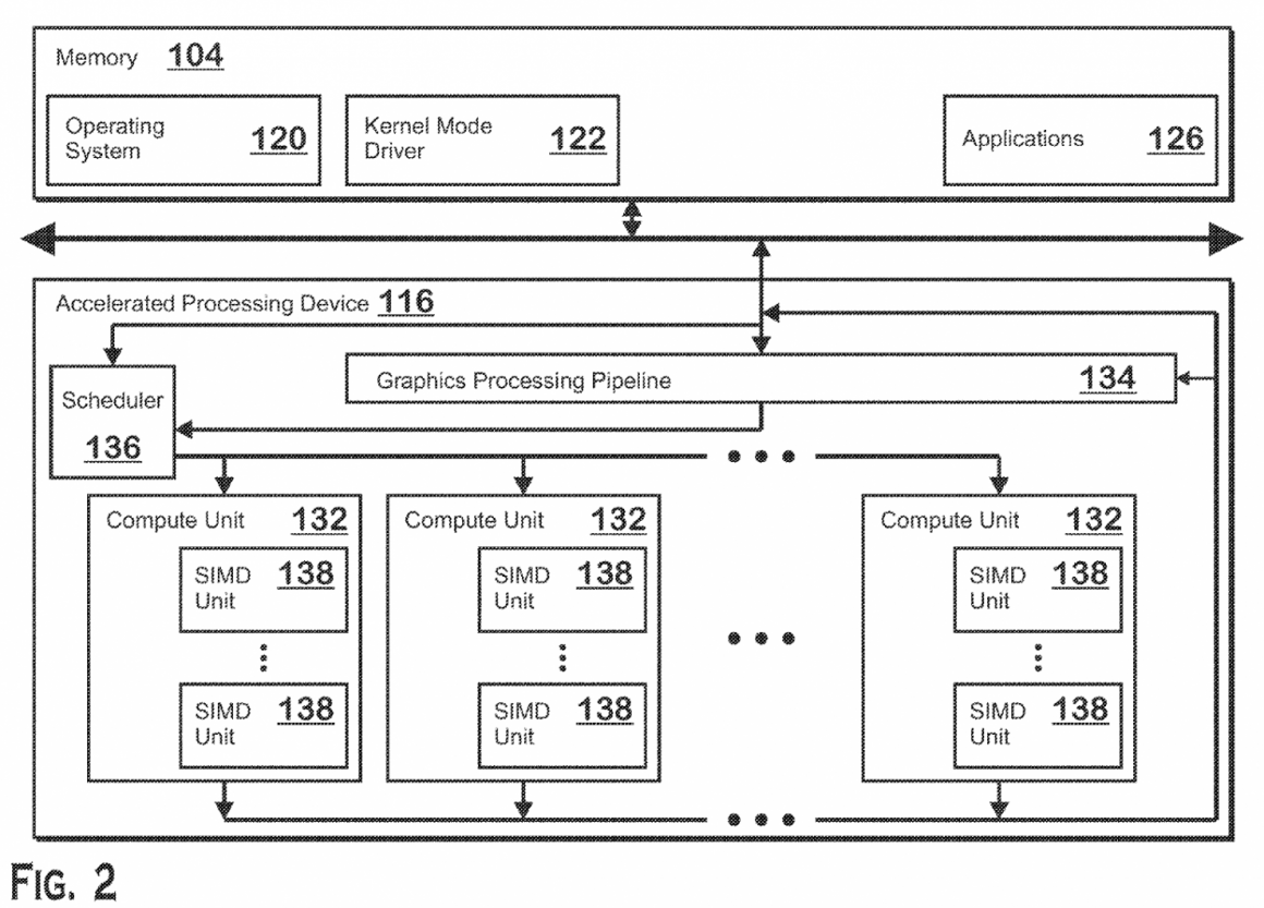
با توجه به جدیدترین حق اختراع مشاهده شده (مربوط به دسامبر 2019)، AMD درباره این که چطور وظایف بین پردازندههای ناهمگون انتقال مییابند، توضیحاتی ارائه کرده است. APUهای فعلی این شرکت نیز طراحی ناهمگون دارند زیرا از دو معماری مختلف (CPU و GPU) روی یک die استفاده میکنند. اما در این جا منظور AMD پیاده سازی دو معماری هسته (CPU) متفاوت است.
در این پتنت ما شاهد لیست شدن دو نوع هسته با عنوان Big processors و Little processors هستیم. همانطور که اطلاع دارید مانند big.LITTLE شرکت ARM، معماری هایبرید از هستههای سریعتر برای وظایف سنگین استفاده میکند در حالی که هستههای ضعیفتر برای وظایف چند رشتهای و سبک کاربرد دارند.
شاهد هستیم که AMD قصد دارد هر دو هسته را روی یک اینترکانکت بهم متصل کند در حالی که آنها به شکل داخلی با یکدیگر در ارتباط هستند تا وظایفی مانند بهره وری، استفاده از حافظه، دسترسی به حافظه، حالتهای مصرف تحت لود / بیکار و غیره را به اشتراک گذارند. ظاهرا هستههای بزرگ مسئول تصمیم گیری خواهند بود.
بدون شک راهکار AMD بسیار جالب است و شایعات قبلی به حضور معماری Zen 5 به عنوان هستههای بزرگ و Zen 4D به عنوان هستههای کوچک در APUهای Strix Point اشاره داشتند. متأسفانه قرار نیست این APUها تا سال 2024 عرضه شوند و این یعنی شاید تا آن زمان معماری هایبرید تیم سرخ در بازار مشاهده نشود.
در عین حال همانطور که در بالا نیز اشاره شد، چیپهای Alder Lake اینتل همین امسال (احتمالا) طراحی هایبرید را ارائه میکنند و به روز رسانی عظیمی که در قالب نسخه بعدی ویندوز منتشر خواهد شد قابلیتهای جدیدی مانند بهینه سازیهایی برای Scheduler را به همراه دارد تا از این نوع معماری پشتیبانی کند.
بیشتر بخوانید: شایعات جدید درباره AMD Zen 4 – تا 128 هسته برای EPYC و Threadripper













ای ام دی اشغال غیر از اسکی از روی اینتل هیچ چیز دیگه بلد نیست ولی باید بهش گفت هنوز خیلی جوجو ای جلوی اینتل کبیر
عزیز مواظب باش چوب اسکی ها توی تخم چشمتون فرو نره
نه که اینتل از هیچ چیز AMD اسکی نرفته
الان هم اینتل اومده کارت گرافیک از روی AMD اسکی رفته و یا طراحی چیپلت MCM رو از AMD رفته و کلی چیزه دیگه
در هر صورت شما و اینتل هر دو تا به تاریخ خواهد رفت
از همونا که میزنی منم میخوام 😂
مطلب جالبی بود