Motorola Razr یکی از قابل پیشبینیترین دستگاههایی است که انتظار میرود در ادامه سال 2019 معرفی شود. این روزها بازار گوشیهای تاشو با نمایشگر انعطافپذیر به شدت داغ است و موتورولا هم قصد دارد با بازطراحی گوشی نوستالژیک خود، یعنی Moto Razr به این بازار ورود کند.
لنوو کنفرانسی برای رسانههای چینی برگزار کرد و در آن ویدئویی کوتاه پخش شد. ویدئویی که در پایین مشاهده میکنید توسط یکی از کارشناسان وبسایت Engadget در چین گرفته شده است.
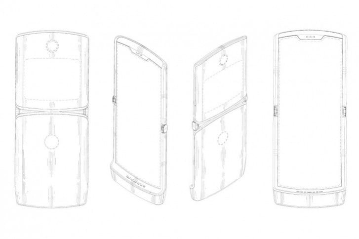
جالب است بدانید که این ویدئو بدون اجازه سازنده آن در این مراسم پخش شده است. Waqar Khan یوتیوبری است که طرح مفهومی گوشی تاشوی موتورولا را براساس پتنتهایی که پیشتر از آن منتشر شده بود، ساخته است.

نکته جالب درخصوص این ویدئو اینست که لوگوی لنوو در در انتهای ویدئوی به چشم میخورد و حتی یکی از رسانههای چینی با انتشار این ویدئو اعلام کرده است که لنوو از گوشی با نمایشگر تاشوی خود رونمایی کرده است. Sina Technology رسانهای است که این خبر را پوشش داده است که بهنوعی زیرمجموعه Weibo به حساب میآید. در هر حال پخش این ویدئوی مفهومی آن هم در شرایطی که حتی اعلام نشده، چنین گوشی وجود دارد، کمی عجیب است.
مشخصات احتمالی Motorola Razr
حالا بهلطف ویدئوهای مفهومی و پتنتهای ثبت شده میتوان حدس زد که ظاهر گوشی تاشوی موتورولا به چه شکل خواهد بود. البته بهطور قطع این طراحی نهایی Razr نخواهد بود. برای اطلاع از ظاهر نهایی موتورولا باید خودش دست به کار شود، اما از سختافزار این گوشی تا اینجای کار چه میدانیم؟
طبق آنچه که تا امروز در خبرها منتشر شده، ریزر قرار است که دارای چیپست اسنپدراگون 710 و حسگر اثر انگشت باشد. جک 3.5 میلیمتری نخواهد داشت و ظرفیت باتری آن هم 2730 میلی آمپرساعت خواهد بود. صفحه نمایش اصلی این گوشی هم قابلیت انعطاف دارد 6.2 اینچ میباشد. در اوایل سال 2019 وال استریت ژورنال اعلام کرد که قیمت تقریبی این گوشی 1500 دلار خواهد بود. در حال حاضر تنها باید منتظر ماند و دید که موتورولا چه زمانی از گوشی جدید خود رونمایی خواهد کرد.








دیدگاهتان را بنویسید