امروز وب سایت Phone Arena در خبری کوتاه به پتنت جدیدی از اپل اشاره کرد که به گفته این وب سایت، ایده ای جدید برای تولید ساعت های هوشمند به حساب می آید. در توضیحات ارائه شده در این پتنت که توسط فون آرنا منتشر شده و سپس در بسیاری از وب سایت های داخلی نیز انعکاس پیدا کرد آمده است که اپل طرحی را به صورت پتنت برای خود به ثبت رسانده که در آن دستبند ساعت هوشمند به نوعی نقش یک قطعه ماژولار را بازی کرده و می توان سنسورهای مختلفی را به صورت قطعات و بلوک های جداگانه برای هر کاربر در نظر گرفت. اگر شما هم چنین ایده ای به ذهنتان آشناست پس بد نیست ادامه داستان را هم بدانید.
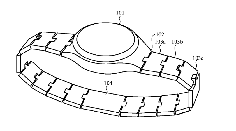
چنین ایده ای در واقع در اکتبر سال 2015 توسط یک گروه به مدیریت یک ایرانی در وب سایت کیک استارتر به ثبت رسیده و خود ما هم در یکی از شماره های ماهنامه سخت افزار در مقاله ای پیرامون گجت های ماژولار به آن اشاره کرده بودیم. البته طبق توضیحات مدیر این پروژه و همان گونه که در وب سایت خود کمپانی نیز آمده است ایده این ساعت ماژولار به سال 2013 بر می گردد و پتنت مربوط به آن نیز در همان زمان ثبت شده و در واقع فاصله ای زمانی بین ثبت ایده و آغاز پروژه در کیک استارتر وجود دارد. این ساعت هوشمند که Blocks نام دارد دقیقا از یک هسته مرکزی به عنوان نمایشگر زمان و یک دستبند تشکیل شده که خود دستبند از قطعات مختلفی ساخته شده و هر کدام از آنها می توانند نقش یک سنسور را برای کاربران بازی کنند. در نتیجه هر کاربری می تواند به سلیقه خود ساعتش را ساخته و بر اساس نوع کارکردش در روزهای مختلف قطعات گوناگونی را برای آن انتخاب کند. در حال حاضر با توجه به اطلاعات وب سایت کیک استارتر تا کنون بیش از 5000 نفر از این پروژه حمایت کرده و مبلغی بیشتر از 1.6 میلیون دلار برای کمک به ساخت آن جمع آوری شده است. همچنین گروه توسعه دهنده اعلام کرده اند که نمونه های اولیه ساعت آماده شده و در حال حاضر در تلاش برای رفع ایرادات و ارائه نسخه نهایی آن به بازار هستند. شما می توانید از طریق لینک های زیر با مراجعه به وب سایت کیک استارتر و همچنین وب سایت خود این گروه از برنامه های آنها برای آینده آشنا شوید.
Blocks در کیک استارتر
Blocks Wearables
اما آنچه بیش از هر چیزی باعث تعجب می شود حرکت اپل برای ثبت ایده ای به نام خود است که قبلا توسط گروهی دیگر به صورت رسمی به ثبت رسیده است.

بدون شک اپل توان مالی و تبلیغاتی فوق العاده بیشتری نسبت به گروه های کوچکی دارد که برای جمع آوری سرمایه مورد نیاز خود از اعلان های عمومی و وب سایت هایی مانند کیک استارتر استفاده می کنند. حتی اگر فرض کنیم شکایتی از سوی تیم توسعه دهنده Blocks نیز مطرح شود با توجه به توان بالای اپل و همراهی آرای عمومی با این شرکت چه سرنوشتی به جز شکست برای تیم های کوچک می توان متصور بود؟ البته هنوز مشخص نیست سرنوشت این ماجرا به کجا خواهد انجامید و اینکه اپل چه برنامه ای برای توسعه این روش دارد. حتی ممکن است همکاری مشترکی بین اپل و این تیم توسعه دهنده به وجود آمده و امتیاز پتنت از سوی اپل خریداری شود. با این وجود با توجه به سابقه این شرکت در شکایت هایش از کمپانی هایی نظیر سامسونگ و موارد بسیار عجیبی که جزو پتنت های آنان به شمار می روند (کافی است دادگاه اول سامسونگ و پتنت اپل درباره آیکون های مربعی با گوشه های گرد را به یاد آورید) نمی توان خوش بینانه به موضوع نگاه کرد.








:smiley2;););)
لایک جناب بهنام
بله یکی از مواردی که توی اون دادگاه ها اپل به پتنت بودنش استناد کرده بود همین شباهت آیکون های گلکسی سامسونگ به آیکون های اپل بود که اعلام شد قبلا آیکون های مربعی با گوشه های گرد از طرف اپل به ثبت رسیده
جناب ناشناس در عدم تعهد دولتهای آمریکایی که شکی نیست ولی تو کجای دنیا شنیدی که اپل نسبت به مشتریان و مخاطبینش تعهد نداشته باشه یا ایده ای رو بدون اجازه از صاحبش یا بدون خریدن حق اختراع از اون ایده استفاده کنه
دوست عزیز شما پول اپل خریدن نداری چرا ناراحت میشی از اینکه یکی از اپل تعریف کنه. من LG G4 دارم اپل داشتم سامسونگم داشتم سیاست های اپل همیشه بر پایه قانون بوده ولی سامسونگ فقط تقلید و غیر قانونی عمل کردن رو در پیش گرفته
پس فردا از دیوار microsofte هم با لا میره
آقا اپل بعد از جابز رو به سقوط در حرکته و از استراتژی های محتلفش معلومه و این اتفاق هم در روند همین قضیه پیش آمده. امیدوارم امتیازشو از این شرکت نوپا خریده باشه تا خودشو منفور نکنه در بازارهای جهانی اما اگر بدون اجازه دست به این کار زده باشه امیدوارم اون شرکت شکایت و اپل محکوم به غرامت بشه.
چرا به یه ملت بی احترامی میکنی/-)/-)
مزخرف نگو مرد حسابی کجای دنیا شنیدی یه امریکایی پایبند قانون باشه اون هم اپل حالم از کامنت های آبکی بهم میخوره
چند درصد سهام اپل مال تو یا باباته؟
اپل انصافا قانونی عمل میکنه و امتیازات رو به صورت رسمی خریداری میکنه ولی سامسونگ فقط کپی کاری می کنن و با ایجاد تغییراتی کوچک ادعا می کنند این طرح و ایده واسه سامسونگه
“کافی است دادگاه اول سامسونگ و پتنت اپل درباره آیکون های مربعی با گوشه های گرد را به یاد آورید”
واقعا!؟ O_o
چه خبره!!!!!!!!!!!!!!!!!! اپل این هفته ها خبر ساز شده
اپل شده از سامسونگ بدتر
تو این زمینه ها خوب کارکرده