نینتندو باز هم با کنترلرهای جدید خود نحوه بازی کردن را برای برخی تغییر داد، کنترلرهای قابل جدا سازی Joy-Con، اما مشخصا هیچ ایدهای برای همیشه خاص باقی نمیماند. با توجه به یک حق اختراج جدید ثبت شده به نظر میرسد مایکروسافت به دنبال ساخت کنترلری مشابه است. البته چنین شایعهای از سال گذشته مطرح شده بود.
حق اختراع مایکروسافت با نام “ماژولهای ورودی قابل جداسازی و شارژ شونده” در سال 2017 به ثبت رسیده اما تا به امروز منتشر نشده بود. شما میتوانید طرحهای مایکروسافت برای این کنترلرهای جدا شونده که برای کار روی موبایلها و تبلتها طراحی شدهاند را مشاهده کنید.


بله بسیار آشنا به نظر میرسد، البته که بسیاری از چنین کنترلرهایی قبل از سوییچ در بازار حضور داشتند اما این حقیقت که مایکروسافت این پتنت را در زمان عرضه نینتندو سوییچ عرضه کرده قابل توجه است. همچنین مایکروسافت در توضیح این دو طرح آورده است:
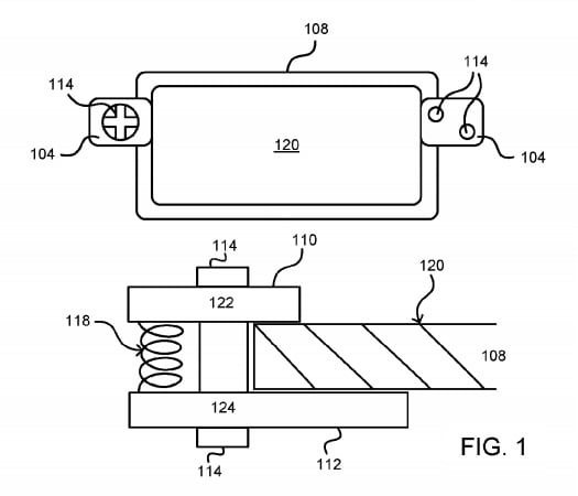
تصویر شماره یک طراحی شماتیک یک سیستم با دو ماژول ورودی مستقل را میدهد که میتوانند به شکل موقتی به یک نمایشکر لمسی متصل شوند تا به عنوان کنترلر ورودی مورد استفاده قرار گیرند.
تصویر شما دو طراحی شماتیک یک دستگاه قابل شارژ را برای یک یا چند ماژول ورودی را با حضور و عدم حضور ماژولها روی آن نشان میدهد.
مایکروسافت سرویس استریم بازی xCloud را امسال عرضه میکند به همین علت منطقیست که آنها به دنبال راهی برای راحتتر بازی کردن با نمایشگرهای لمسی باشند. گوگل از کنترلرهای مرسوم و سنتی برای پلتفرم استریم استادیا بهره برده، پس مسیر کنترلرهای قابل جدا سازی برای مایکروسافت میتواند برای آنها بهتر باشد. البته که گزارشاتی درباره ساخت یک کنسول ارزان قیمت برپایه xCloud توسط مایکروسافت نیز به گوش میرسد.
مشخصا ثبت یک حق اختراع توسط یک کمپانی هیچوقت به معنای عرضه یک محصول به بازار نیست اما جالب خواهد بود که چنین کنترلرهایی برای دستگاههای موبایل منتشر شوند.








دیدگاهتان را بنویسید