فناوری گوشیها با نمایشگرهای تاشو خیلی زود به یکی از تاپیکهای داغ سال 2019 تبدیل شده است. هر شخصی که یک فامیل بااستعداد و فرصت طلب در اطراف خود دارد خبر از این میدهد که مشغول تهیه یک طرح مفهومی برای گوشیهای انعطافپذیر است.البته این موضوع به مزاحی بیش نبود، اما در واقعیت نمیتوان منکر این شد که همه شرکتهای بزرگ و کوچک فعال در زمینه موبایل، در فکر ساخت محصولی با این ویژگی هستند.
به لطف رقابت شدیدی که در این زمینه ایجاد شده، این تکنولوژی با سرعت خوبی درحال پیشرفت است و در نمایشگاه MWC 2019 باید شاهد حضور پیشگامان این فناوری از جمله سامسونگ، هوآوی، شیائومی و الجی باشیم. انتظار میرود که این شرکتها بخشی از کنفرانس خود را به صحبت درخصوص روند پیشرفت گوشیهای تاشو اختصاص دهند و حتی ممکن است برخی از آنها از دستگاههای خود رونمایی نیز بکنند. در همین حال، کوپریتنوییها که در ابتدا به نظر میرسید این موضوع را جدی نگرفتهاند، از فرصت استفاده کرده و در حال برنامهریزی برای ساخت اولین محصول خود با نمایشگر تاشو تا سال 2020 هستند.
اولین پتنت از گوشیهای تاشوی اپل در سال 2011 ثبت شده و بعدها در سال 2016 بهروزرسانی شده و نمونه جالبی از این ترند جدید را به نماش گذاشته است که نشان میدهد عملکرد تاشدن نمایشگر مکانیکی است.
بعضی از آنها به وضوح سادهتر از دیگران هستند و فقط دو بخش دارند. یک لولا آنها را کنار هم قرار داده و از یک طرف تاشده و گوشی بسته میشود. البته این طراحی سوالی را مطرح میکند که پس از بسته شدن گوشی آیا دیگر امکان دسترسی به نمایشگر وجود نخواهد داشت؟ چند عکس ابتدایی طراحیهای بلندپروازانهای را نشان میدهند، چرا که بعید بهنظر میرسد فناوری نمایشگرهای تاشو تا آن حد پیشرفت کرده باشد که بتواند با آن زاویه بسته شود.
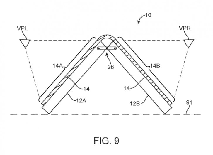
محصول نهایی اما انتظار میرود که چیزی مشابه با تصویر FiG 9 باشد که نمایشگرهای آن به سمت داخل خم میشود. در صورت چنین طراحی داشتن یک نمایشگر بیرونی برای زمانیکه گوشی بسته باشد، یک راه مناسب است. این نوع طراحی را در میان ایدههای چند شرکت برای ساختن گوشیهای تاشو دیده بودیم.
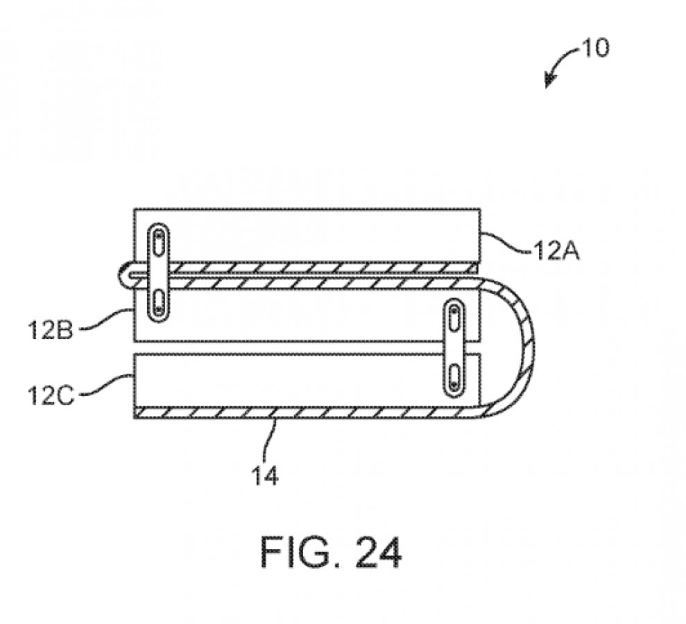
البته پتنتهایی که توسط اپل ارائه شده محدود به این نوع نیست. در چند نمونه دیگر نمایشگر در قسمت بیرونی قرار گرفته است و در نمونهای دیگر با ترکیب سه نمایشگر یه گوشی تاشو طراحی شده است. هرچند که بسیاری از آنها برای یک گوشی کمی عجیب و ساخت آن تقریباً غیرممکن بهنظر میرسد، اما این طرحها میتوانند در خارج از قلمرو گوشیهای هوشمند مانند آیپدها یا مکبوکهای آینده اپل استفاده شود. در ادامه میتوانید چند نمونه از این پتنتها را تماشا بفرمایید:












دیدگاهتان را بنویسید