چراغ های گردان در آینه وسط خودرو یعنی اینکه باید راه را برای خودروی عقبی باز کرد. انسانها این نکته را میدانند، اما در آینده…
اما در آینده که خودروها راننده ای ندارند و خودشان حرکت میکنند، چگونه خواهند فهمید که در مواقع اضطراری چه عکس العملی باید نشان دهند. گوگل ایده ای برای این مساله دارد و در حال ثبت حق اختراع این تکنولوژیست، ایده ای که در خودروهای بدون راننده آینده، خودروهای اورژانسی در حال ماموریت را شناسایی میکند و تصمیم درست را اتخاذ میکند. “چراغ گردان یعنی کنار بکش آقای ماشین!”

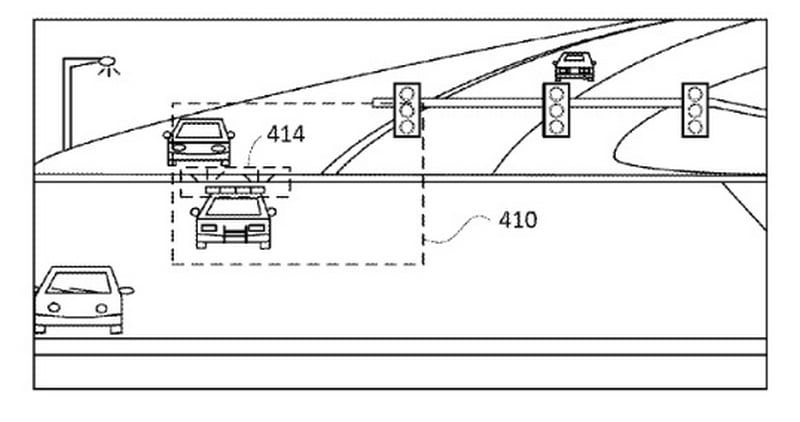
کاربرد این اختراع گوگل در 1 سپتامبر منتشر شد. در این قابلیت خودرو های بدون راننده، چراغ های گردان و حتی رنگ آنها را تشخیص میدهند، به خصوص رنگ های آبی، قرمز که تم اصلی چراغ های اورژانسی هستند و رنگ سومی که احتمال ایجاد آن وجود دارد. برنامه گوگل ایجاد یک سیستم هوشمند برای خودرو های خودران است تا فرق بین یک آمبولانس، یا خودروی پلیس و یا چراغ راهنمایی را تشخیص دهد. طبق اسناد منتشر شده گوگل درباره این قابلیت، در آینده کاربرد دوربین ها و سنسورها در شهر و خودروها بیشتر شده و گوگل هم از این دو مورد برای اجرایی کردن ایده خود استفاده میکند. گوگل اعلام کرده که این سیستم چراغ ها و رنگ هایی را هم که به موارد اورژانسی مربوط نمیشوند شناسایی میکند و در صورتی که این خودروها سرعت زیادی داشته باشند و برای دیگران خطرساز باشند راه را برای آنها نیز باز میکند. به علاوه این قابلیت نیاز دارد تا با سیستم های دیگر خودرو نظیر مسیریاب، فرمان پذیری، ترمز و حتی گاز دادن ارتباط برقرار کند.
برای اطلاع از جدیدترین اخبار دنیای دیجیتال، قیمت انواع قطعات سخت افزاری و تجهیزات الکترونیکی، آگاهی از اخبار مرتبط با تکنولوژی از جمله نوسان قیمت ارز، تصاویر، ویدئوها و مطالب آموزشی اختصاصی به کانال تلگرام وب سایت سخت افزار بپیوندید: telegram.me/sakhtafzarmag









دیدگاهتان را بنویسید