Lamarr ستاره ی هالیوودی بود که بیشتر وقت خود را به توسعه سیستم های ارتباطی مشغول بود. او جزء مخترعان Wi-Fi و ارتباط بی سیم بود. همسر وی یک یهودی بود که به هیتلر و موسولینی به صورت غیر قانونی سلاح میفروخت؛ در نتیجه هدی لامار اطلاعات زیادی در رابطه با سلاح های مختلف داشته و این اطلاعات را در اختیار ایالات متحده قرار میداد. همه ی فعالیت های ارزشمند او در دوران زندگی اش باعث شد تا صدمین سال تولدش روزی خاص باشد.
در سال 1933 او برای اولین بار در فیلم Ecstasy ظاهر شد، اولین ازدواج این بازیگر استرالیایی با نجیب زاده ای بود که به فروش سلاح های غیر قانونی میپرداخت. زندگیش با همسرش اصلاً یک رابطه ی ایده آل نبود و زندگی مشترک موفقی نداشت. تا جایی که از شوهرش فرار کرد و به ایالات متحده نقل مکان کرد؛ در آنجا حرفه ی بازیگری را از سر گرفت و تبدیل به یک ستاره ی هالیوودی شد. اما در پشت این چهره ی هالیوودی پر زرق و برق، چیزی پنهان بود. او در تمام سالهای زندگی با همسرش، چیز های زیادی درباره ی سلاح ها و سیستم های ارتباطی یاد گرفته بود و ایده هایی در این زمینه در ذهنش بود؛ تصمیم گرفت تا ایده هایش را در کشوری عملی کند که از آن استقبال شود.

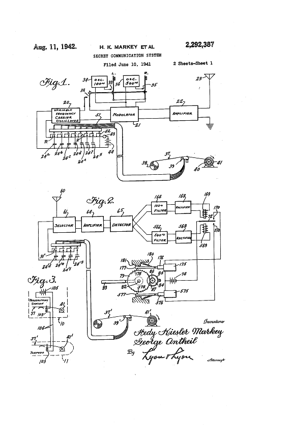
او پس از یک ملاقات با پیانیست، جرج آنتیل، که از پیشگامان موسیقی های مکانیزه بود؛ ایده های خود را در میان گذاشت و با هم شروع به همکاری و ساخت نوار های پیانو کردند. این نوار ها به گونه ای بود که در پیانو قرار میگرفت و به صورت خودکار موسیقی مینواخت.

بر اساس این ایده به ساخت فرستنده و گیرنده امواج رادیویی در کانال فرکانسی پرداختند و در سال 1942 این اختراع تحت عنوان راز سیستم های ارتباطی به ثبت رسید. اما سیستم آنتیل و لامار در آن سال ها مورد استقبال قرار نگرفت و دلیل این بی توجهی ها این بود که دولت کاربرد سیستم های بی سیم را نمیدانست؛ در نتیجه اختراع آنها کنار گذاشته شد. بعد ها از فناوری او در نیروی دریایی آمریکا استفاده شد و لامار هرگز نمیخواست تا از طریق اختراعش پولی بدست بیاورد. او 20 سال از زمان خود جلوتر بود؛ در واقع اختراع لامار و آنتیل دو دهه بعد مورد استفاده قرار گرفت و آنتیل در سال 1959 فوت کرد، بدون اینکه شاهد تولید اختراعش باشد. در سال 1960 نیز این سیستم در توسعه ی ارتباطات نظامی بی سیم در موشک های هدایت شونده به کار گرفته شد. در نهایت هم به اختراع تلفن های همراه و تمامی ارتباط های بیسیم این روز ها ختم شد. پس از جنگ، حرفه ی بازیگری لامار به زوال کشیده شد و سالهای تاریک او یعنی سال های 1960 آغاز شد. او را به اتهام دزدی از یک فروشگاه دستگیر کردند و دنیا هیچگاه او را به چشم یک مخترع ندید تا زمانی که در سال 2000 از دنیا رفت.

در سال 2005 روز تولد او را در کشور های اتریش، سوئیس و آلمان روز مخترع اعلام کردند. در سال 2014 نیز نام لامار و آنتیل در تالار مشاهیر مخترع آمریکا ثبت شد. آثار مختلفی در مورد او نوشته شد که میتوان به نوشته ی ریچارد رودز اشاره کرد که درباره ی زندگی لامار و دستیابی به اختراعش بود و موفق به دریافت جایزه ادبی شد. از سال 2015 نیز فرزندش مشغول نوشتن زندگینامه ی مادرش و ساختن فیلمی از زندگی او شده است.








در ڀاراگراف دوم ــــبازیگراسترالیاٸی ــــ ترجمه شده که برگردان AUSTERIA اتریش است !!
کلا این آدم تو همه چیز جلو بوده به بینی اون نگاه کنید به نظر میرسه بینی عملیه در صورتی که اون موقع ها عمل زیبایی بینی نبوده . در کل آدم جالبی بوده
تسلا مردی که مطعلق به زمانه خودش نبود و درک نشد
:smiley5
جالب بود ممنون
همیشه مرده پرست بودیم :smiley9
تا جایی که یادمونه اولین مخترع ارتباط بی سیم نیکولا تسلا هست!
خدا رحمتش کنه اگه نبود بیچاره میشدیم واقعا:-bd