بی گمان یکی از محصولات مورد انتظار برای طرفداران گوشی هوشمند، سرفیس فون کمپانی مایکروسافت است که مدت زیادیست شاهد انتشار شایعات مرتبط با این دستگاه هستیم. در حالی که ردموندی ها با ویندوز موبایل به هیچ عنوان نتوانستند جایگاه قابل توجهی را در بازار گوشی های هوشمند کسب کنند و با وجود رقبای قدرتمندی از جمله اندروید و iOS کاملا در بازار محو شدند، چشم امید این کمپانی و البته طرفدارانش به سرفیس فون است تا ویژگی های منحصر به فردی که در هیچ گوشی هوشمند دیگری یافت نمیشود یک دگرگونی اساسی در دنیای گوشی های هوشمند صورت دهند. پیش بینی میشود سرفیس فون زودتر از سال آینده وارد بازار نشود اما انتشار اطلاعات در این مورد همچنان ادامه دارد. همراه ما باشید.
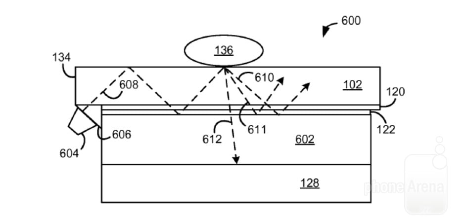
بر اساس اطلاعاتی که در مورد پتنت جدید مایکروسافت منتشر شده است، به نظر میرسد ویژگی جدید احتمالی سرفیس فون، به صفحه نمایش و سنسور اثر انگشت دستگاه بازمیگردد. همان طور که اطلاع دارید، اکثر گوشی های هوشمند امروزی مجهز به سنسور اثر انگشت در قسمت دکمه ی هوم یا پشت دستگاه و زیر لنز دوربین اصلی هستند. با پتنت جدید مایکروسافت، امکان گنجاندن سنسور انگشت به هر دو نوع صفحه نمایش LCD و OLED فراهم میشود و این پتنت باعث ذخیره ی فضا و در نتیجه امکان باریک شدن دستگاه میشود. سیستم این پتنت مستلزم یک موجبر و یک فیلتر است که زیر شیشه ی صفحه نمایش قرار میگیرد. زمانی که انگشتی بر روی صفحه نمایش فشار وارد میکند، سنسوری که در زیر شیشه صفحه نمایش قرار گرفته، بخش های مختلف اثر انگشت را شناسایی میکند. البته لازم به ذکر است که ممکن است این پتنت در محصول نهایی به شکل کاملا متفاوتی استفاده شود هر چند بسیاری از پتنت های کمپانی های بزرگ تنها روی برگه میمانند و هیچگاه به مرحله ی تولید و بهره برداری نمیرسند.

از دیگر مشخصات احتمالی سرفیس فون که پیش از این شاهد شایعات آن بودیم، چیپست معرفی نشده ی کوالکام و مقدار حافظه ی رم چشمگیر 8 گیگابایتی بوده است. البته سرفیس فون در نسخه های مختلفی نیز وارد بازار خواهد شد. حال به این مشخصات، ویژگی احتمالی وجود سنسور اثر انگشت در زیر صفحه نمایش نیز باید اضافه کنیم. در نهایت مطمئنا تا سال آینده و زمان احتمالی رونمایی سرفیس فون، باید منتظر اخبار جدید و موثق تری باشیم تا در نهایت ببینیم ردموندی ها خاص ترین گوشی هوشمند خود را به چه شکل وارد بازار خواهند کرد.
برای اطلاع از جدیدترین اخبار دنیای دیجیتال، قیمت انواع قطعات سخت افزاری و تجهیزات الکترونیکی، آگاهی از اخبار مرتبط با تکنولوژی از جمله نوسان قیمت ارز، تصاویر، ویدئوها و مطالب آموزشی اختصاصی به کانال تلگرام وب سایت سخت افزار بپیوندید: telegram.me/sakhtafzarmag









گوشی های ویندوزفون پرچمداراش همیشه گرونن قیمت شون هم کم نمیشه بعلاوه اینکه زیاد نمیشه روی وینفون حساب کرد از نظر اپ
امیدوارم بخش گوشی مایکروسافت با این گوشی انقلابی بهتر بشه:-bd
آخه فقط خود گوشی نیست که و اگرنه مگه لومیاها گوشی های بدی بودند؟
سیستم عامل ویندوز فون و رابط کاربریش هست که کارو خراب می کنه!