در سال 2017 پتنت های گوناگونی از مایکروسافت به صورت عمومی به نمایش گذاشته شد، این موضوع نشان میداد که ردموندی ها مشغول کار بر روی تبلت تاشویی هستند که می تواند به اندازه یک گوشی هوشمند تبدیل شود. این نوع تبلت ها که دارای دو نمایشگر می باشند اندرومدا (Andromeda) نام دارند، یکی از امکانات آنها امکان برقراری و دریافت تماس می باشد، این تبلت ها همچنین دارای نسخه ویژه ای از سیستم عامل ویندوز می باشند. علاوه براین در هر دو صفحه نمایش این تبلت ها درست مانند یک دفترچه یادداشت کاغذی امکان نت برداری وجود داشت.
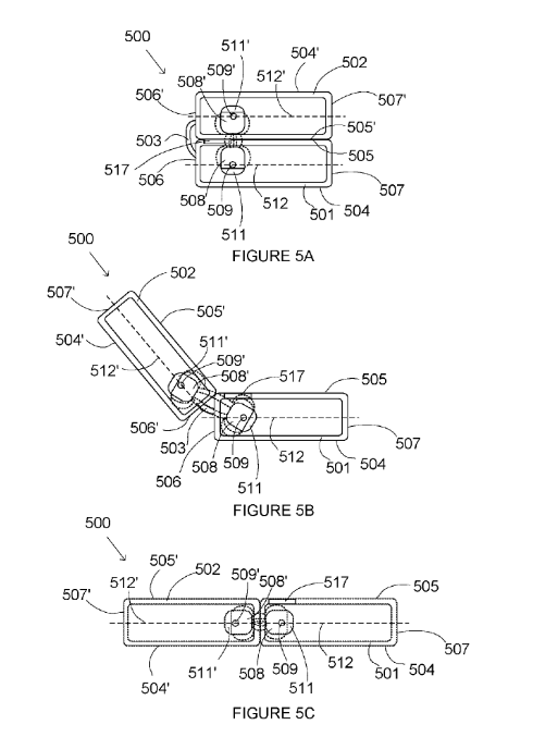
روز گذشته اطلاعاتی در خصوص پتنت جدید مایکروسافت منتشر شد. براساس اطلاعات جدیدی که به همراه تصویر این پتنت در WindowsCentral نمایش داده شده است، لولای تبلت تاشوی جدید می تواند از 0 تا 360 درجه باز شود و یک سیستم قفل مغناطیسی در درون صفحه نمایش وجود دارد که نمایشگر را در حالتی که کاربر تنظیم کند، قفل می کند. عنوان این اختراع مایکروسافت “قفل کردن مغناطیسی یک دستگاه الکترونیکی” است که در آگوست سال 2016 به ثبت رسیده است.
سیستم قفلی که قرار است مایکروسافت در تبلت جدیدش استفاده کند، 2 سال قبل به ثبت رسیده و تعداد پتنت هایی که برای تبلت های اندرومدا تهیه شده هم کم نیستند. حالا باید دید که مایکروسافت چه زمانی تصمیم خود مبنی بر به واقعیت تبدیل کردن این اختراعات را عملی خواهد کرد و آیا 2018 سالی خواهد بود که ما تبلت های تاشوی 360 درجه این شرکت را خواهیم دید یا خیر.








شک نکنید اینده بازار دیجیتال و کامپیوتر ها از ان تبلت سورفیس خواهد شد