موضوعات داغ
  • بتلفیلد 6
  • گوشی‌های سری گلکسی S26
  • آیفون 17 اپل
  • بازی GTA VI
  • گلکسی S25 FE
  • دینو
سخت افزار مگ
  • اخبار و مقالات
    • گوشی موبایل
      • لوازم جانبی موبایل
    • تبلت
    • لپ تاپ
    • دسکتاپ
      • مادربرد
      • پردازنده مرکزی
      • کارت گرافیک
      • تجهیزات ذخیره سازی
      • حافظه
      • صفحه نمایش
      • تجهیزات جانبی
    • تصویرگری دیجیتال
    • صوتی و تصویری
    • شبکه
    • نرم افزار و بازی
    • کالبدشکافی قطعات
    • مطالب گوناگون
  • بررسی
    • بررسی گوشی موبایل
    • بررسی تبلت
    • بررسی لپ تاپ
    • دسکتاپ
      • بررسی کولر و فن
      • بررسی مادربرد
      • بررسی کارت گرافیک
      • بررسی تجهیزات ذخیره سازی
      • بررسی حافظه
      • بررسی منبع تغذیه و کیس
      • بررسی تجهیزات جانبی
      • بررسی صفحه نمایش
    • بررسی تصویرگری دیجیتال
    • بررسی صوتی و تصویری
    • بررسی شبکه
    • بررسی نرم افزار و بازی
    • بررسی گوناگون
  • راهنمای خرید
    • سیستم پیشنهادی
  • لیست قیمت
    • گوشی موبایل
      • لیست قیمت روز گوشی‌های سامسونگ
      • لیست قیمت روز گوشی‌های شیائومی
      • لیست قیمت روز گوشی‌های هواوی
      • لیست قیمت روز گوشی های آنر
    • تبلت
    • لپ‌تاپ
    • قطعات کامپیوتر
      • لیست قیمت پردازنده
    • محصولات اپل
    • تجهیزات شبکه
    • لوازم خانگی
    • صوتی و تصویری
    • دوربین دیجیتال
    • تجهیزات بازی
    • خودرو
  • ویژه
    • مسابقات
    • نمایشگاه
تبلیغات
تبلیغات
تبلیغات

گوشی موبایل

قلم S Pen گوشی گلکسی نوت 10 سامسونگ مجهز به یک دوربین خواهد بود

Avatarتوسط سیمین نوربخش ·17 بهمن 139717 بهمن 1397· 0

سامسونگ به تازگی پتنتی را در USPTO، اداره ثبت اختراع و علامت تجاری ایالات متحده به ثبت رسانده است که نشان از طراحی عجیب و غریب پرچمدار آینده این کمپانی، یعنی گلکسی نوت 10 می‌دهد. به ‌نظر می‌رسد که سامسونگ به دنبال راهی است تا به طور کلی ناچ (بریدگی بالای نمایشگر) و پانچ هُل (حفره نمایشگر) را از طراحی محصولات خود حذف کند، اما با این حال راهکاری برای گرفتن عکس سلفی برای کاربران گلکسی نوت فراهم کند.

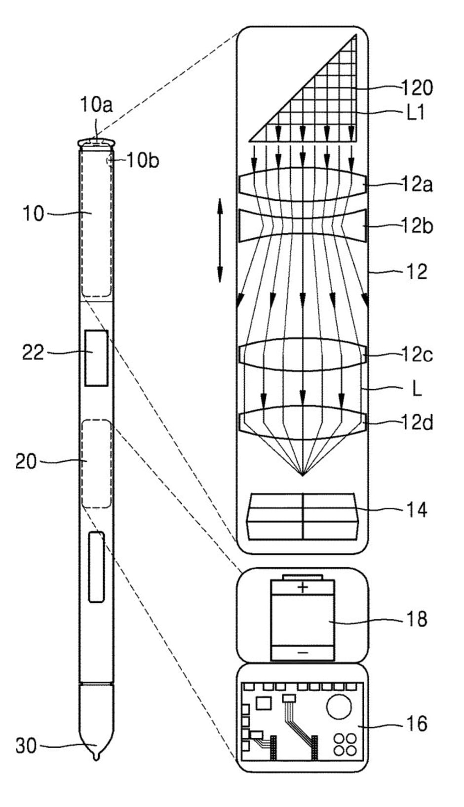
شماتیکی که در پتنت سامسونگ نمایش داده شده است خبر از تغییراتی عمده در قلم S Pen به جای گوشی هوشمند می‌دهد. به‌طور خلاصه پتنت مورد نظر روشی را توصیف کرده است که در آن یک دوربین درون قلم S Pen قرار می‌گیرد که حداقل یک لنز و یک سنسور تصویر خواهد داشت.ساختار قلم S Pen گلکسی نوت

دوربینی که درون قلم گوشی قرار خواهد گرفت، با یک کلید خارجی کنترل خواهد شد. یک کلید خارجی دیگر در قسمت پایین‌تر قلم قرار خواهد داشت که کاربران می‌تواند توسط آن زوم را تنظیم کنند. طبق آنچه که PatentlyMobile اعلام کرده، پتنت مورد نظر برای قلم S Pen در دستگاه‌های آینده گلکسی نوت استفاده خواهد شد، اما مشخص نشده است که کدامیک نسل از آن.

اگرچه اضافه کردن یک دوربین به قلم گوشی‌های نوت که در حال حاضر کاربردهای زیادی دارد، می‌تواند آن را مفیدتر کند، باز هم باور آنکه سامسونگ قصد دارد دوربین سلفی را ئر گلکسی نوت آینده خود به طور کل از گوشی حذف کرده و به قلم منتقل کند، کمی سخت است. در حقیقت ما حتی در حال حاضر نمی‌دانیم که آیا دوربین S Pen قرار است که جایگزین دوربین سلفی گلکسی نوت شود یا نه. در وضعیت فعلی، تنها چیزی که ما از آن مطمئن هستیم، اینست که قلم آینده S Pen ممکن است به کاربران این اجازه را بدهد که بدون در اختیار داشتن گوشی گلکسی نوت خود، بتوانند عکس بگیرند.

برچسب‌ها: اخبار موبایل, سامسونگ, گلکسی نوت

بدون امتیاز
کمی صبر کنید...
تبلیغات
تبلیغات
سرخط خبرها:
  1. معاون دفتر رئیس‌جمهور: محدودیت‌های اینترنت بین‌الملل دائمی نیستند
  2. فیروزآبادی: فیلترینگ به روش «لیست سفید» بیهوده است
  3. افشای جزئیات تکان‌دهنده از حامی اصلی طرح اینترنت پرو
  4. آیا درآمد یوتوبرهای ایرانی به نقطه صفر رسیده است؟
  5. شکایت صداوسیما از آپارات به دلیل پخش غیرمجاز بیش از 750 اثر متعلق به سازمان

مطالب مرتبط ...

  • 0

    تحول در دنیای موبایل – شیائومی 10 گوشی 5G در 2020 معرفی خواهد کرد!

    Avatarتوسط سیمین نوربخش · 29 مهر 1398 · 29 مهر 1398

  • 6

    چگونه و چرا باید شارژ سریع گوشی را غیرفعال کنیم؟

    Avatarتوسط سیمین نوربخش · 8 دی 1397 · 8 دی 1397

  • 2

    گلکسی A9 با نمایشگر 6 اینچی و 3 گیگابایت RAM تائیدیه TENAA را دریافت کرد

    Avatarتوسط محمد یوسفی زاده · 2 دی 1394 · 2 دی 1394

مطالب گوناگون از دینو

کدام داروها می‌توانند تحمل گرما را سخت‌تر کنند؟

10 فیلم فوق‌ العاده که به شما کمک می کند بچه ها را بهتر درک کنید

چگونه از نشخوار افکار منفی و تجربیات گذشته خودداری کنیم؟

دیدگاهتان را بنویسید لغو پاسخ

نشانی ایمیل شما منتشر نخواهد شد. بخش‌های موردنیاز علامت‌گذاری شده‌اند *

در صورتی که نظر شما حاوی ناسزا، عبارات توهین‌آمیز و تهدید بوده و در تضاد با قوانین فعلی کشور باشد از انتشار آن بدون حذف موارد ذکر شده، معذوریم.
شکلک‌ها (اموجی‌ها) را می‌توانید با کیبرد گوشی یا کیبرد مجازی ویندوز قرار دهید.
تصاویر نویسندگان دیدگاه از Gravatar گرفته می‌شود.

پربحث‌ترین‌ها

  • دائمی نبودن محدودیت اینترنت بین‌الملل 0

    معاون دفتر رئیس‌جمهور: محدودیت‌های اینترنت بین‌الملل دائمی نیستند

  • 0

    بیانیه فدراسیون مشاوران کسب‌وکار: قطع اینترنت، اقتصاد دیجیتال کشور را از مدار خارج کرده است

  • بازی کامپیوتری و اینترنت اشیا 0

    راه‌اندازی اینترنت مخصوص بازی در سایه خاموشی شبکه جهانی!

  • 0

    شکایت صداوسیما از آپارات به دلیل پخش غیرمجاز بیش از 750 اثر متعلق به سازمان

آخرین بررسی‌ها

9.7

بررسی حافظه اس‌اس‌دی SAMSUNG 9100 PRO 2TB

9.3

بررسی مادربرد X870 AORUS STEALTH ICE گیگابایت

8.8

تماشا کنید: بررسی گوشی گلکسی A17 4G سامسونگ؛ اقتصادی تازه‌نفس

8.8

بررسی لپ تاپ MSI Vector 16 HX - اژدهای همه‌فن‌حریف

9.6

تماشا کنید: بررسی Aorus FO27Q3 گیگابایت | بهترین مانیتور گیمینگ 2025؟

آخرین مطالب دینو

انقلاب‌های جهان: مهم‌ترین انقلاب‌های تاریخ که تاثیرات مهمی بر جهان داشتند!

کتاب‌های درسی تاریخ پر از صفحاتی است که انقلاب‌های…

  • حقایقی درباره پنتاگون که ممکن است شما را شگفت‌زده کند

  • 0 تا 100 اجرای روف گاردن در تهران | از طراحی اصولی تا نگهداری

  • 7 مورد از بهترین حرکات یوگا برای تسکین استرس

  • آزادی بیان چیست و چه اهمیتی در جامعه دارد؟

  • مطلب بعدی ایموجی های جدید و متنوع سال 2019 به طور رسمی معرفی شدند!
  • مطلب قبلی درآمد 39.28 میلیون دلاری آلفابت در سه ماهه سوم با مشارکت 83 درصدی تبلیغات گوگل
  • آخرین مطالب
  • محبوب‌ترین مطالب
  • دائمی نبودن محدودیت اینترنت بین‌الملل

    معاون دفتر رئیس‌جمهور: محدودیت‌های اینترنت بین‌الملل دائمی نیستند

  • انتقاد از فیلترینگ به روش لیست سفید

    فیروزآبادی: فیلترینگ به روش «لیست سفید» بیهوده است

  • افشای جزئیات تکان‌دهنده از حامی اصلی طرح اینترنت پرو

  • درآمد یوتوبرهای ایرانی

    آیا درآمد یوتوبرهای ایرانی به نقطه صفر رسیده است؟

  • شکایت صداوسیما از آپارات به دلیل پخش غیرمجاز بیش از 750 اثر متعلق به سازمان

  • دائمی نبودن محدودیت اینترنت بین‌الملل 0

    معاون دفتر رئیس‌جمهور: محدودیت‌های اینترنت بین‌الملل دائمی نیستند

  • 0

    بیانیه فدراسیون مشاوران کسب‌وکار: قطع اینترنت، اقتصاد دیجیتال کشور را از مدار خارج کرده است

  • بازی کامپیوتری و اینترنت اشیا 0

    راه‌اندازی اینترنت مخصوص بازی در سایه خاموشی شبکه جهانی!

  • 0

    شکایت صداوسیما از آپارات به دلیل پخش غیرمجاز بیش از 750 اثر متعلق به سازمان

  • درآمد یوتوبرهای ایرانی 0

    آیا درآمد یوتوبرهای ایرانی به نقطه صفر رسیده است؟

آخرین دیدگاه‌ها

  • Avatar
    حمید گفته است:
    من نبودم دستم بود
  • Avatar
    حمید گفته است:
    دور و زمونه رو ببین سرنوشتمون افتاده دست کیا
  • Avatar
    کیومرس گفته است:
    کلاب هاوس راه ارتباط وتبادل دیگاه با دوستانم هست
  • Avatar
    احسان دهقانی گفته است:
    سلام منم از 27 آبان 1404 یک لپتاپ سفاررش دادم و...
  • Avatar
    Maryam Omarzad گفته است:
    چگونه حساب بسازیم لطفا بگوین
  • Avatar
    سیمین نوربخش گفته است:
    امیدواریم حال شما هم خوب باشه.
  • Avatar
    MarkReethes گفته است:
    دقیقا همینطوره بیشتر هزینه کنی از دوتا برند معتبر بگیری خیلی...
  • Avatar
    MarkReethes گفته است:
    دقیقا همینطوره بیشتر هزینه کنی از دوتا برند معتبر بگیری خیلی...
  • Avatar
    Sak Das گفته است:
    یوسی پاپ جیگیم
  • Avatar
    Sak Das گفته است:
    یوسی
راهنمای خرید لپ تاپ گیمینگ 470
راهنمای خرید و مشاوره هایلایت
راهنمای خرید لپ تاپ گیمینگ با بودجه های مختلف (دی 1404)
13 دی 1404
راهنمای خرید لپ تاپ با بودجه های مختلف 1,303
راهنمای خرید و مشاوره هایلایت
راهنمای خرید لپ تاپ با بودجه های مختلف (دی 1404)
10 دی 1404
راهنمای خرید مانیتور آذر 1404 70
راهنمای خرید و مشاوره
راهنمای خرید مانیتور با بهترین قیمت در بودجه‌های مختلف (دی 1404)
6 دی 1404
راهنمای خرید گوشی موبایل آذر 491
راهنمای خرید و مشاوره
راهنمای خرید گوشی موبایل بر اساس بودجه‌های مختلف (دی 1404)
5 دی 1404
7,765
راهنمای خرید و مشاوره سیستم پیشنهادی هایلایت
راهنمای خرید و مشاوره سیستم کامپیوتر با بودجه های مختلف (دی 1404)
3 دی 1404
راهنمای خرید و مشاوره هدفون و هدست با بودجه های مختلف (آبان 1404) 0
اخبار و مقالات راهنمای خرید و مشاوره هایلایت
راهنمای خرید و مشاوره هدفون و هدست با بودجه های مختلف (آبان 1404)
27 آبان 1404
  • سخت‌افزارمگ
  • درباره ما
  • تبلیغات
  • استخدام
سخت‌افزارمگ

© 2026 Sakhtafzarmag.Com. All Rights Reserved.

صفحه نخست » اخبار و مقالات » گوشی موبایل » قلم S Pen گوشی گلکسی نوت 10 سامسونگ مجهز به یک دوربین خواهد بود

ورود

عضویت

رمزتان را گم کرده‌اید؟

عضویت | رمزتان را گم کرده‌اید؟
| بازگشت به ورود