باوجود آنکه هنوز گوشیهای هوشمند انعطافپذیر به بازار موبایل راه پیدا نکردهاند، اما با معرفی گلکسی فولد سامسونگ و میت X هوآوی که هر دو محصولات لوکس و بالاردهای به حساب میآیند، توجهات زیادی به این نوع طراحی جلب شده است. گلکسی فولد و میت اکس هر دو گوشیهایی هستند که فاصله زیادی با عالی بودن دارند و البته قیمت آنها هم ممکن است شوکه کننده بهنظر آید، اما یک موضوع واضح است، آن هم اینکه گوشیهای تاشو آمدهاند که بمانند.
با این حال باید این نکته را در نظر داشته باشیم که اگر تلاش گوگل برای ارائه یک سیستم عامل مناسب و سازگار با این گوشیها نبود، محصولات تاشوی سامسونگ و هوآوی تا این اندازه مورد توجه قرار نمیگرفتند. حالا احتمالاً این موضوع و ایجاد یک سیستم عامل هماهنگ با گوشیهای انعطافپذیر گوگل را به فکر برنامه ریزی در جهت استفاده از برنامههای توسعه یافته خود انداخته است. وبسایت Patently Mobile نمونههایی از پتنت ثبت شده در سازمان جهانی مالکیت معنوی (WIPO) توسط گوگل را منتشر کرده است.
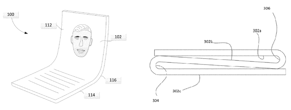
از پتنتها واضح است که گوگل در فکر تولید نمایشگرهای انعطافپذیر با لایههای نازک است و تلاش میکند تا با ساخت محصول نمایشگر انعطافپذیر کیفیت آن را فدا نکند و زمانیکه نمایشگر گوشی باز میشود هیچ برآمدگی در وسط آن وجود نداشته باشد. نکته جالب در مورد این پتنت اینست که گوگل سعی دارد از موادی مانند فیبرهای شیشهای و پلیمر برای لایه شفاف استفاده کند. یکی از بزرگترین نگرانیهایی که همزمان با معرفی گوشیهای تاشو مطرح شده اینست که صفحه نمایش پلاستیکی آنها به راحتی خراشیده میشود. ممکن است که گوگل برای این موضوع راهحلی داشته باشد.
یکی از طرحهای پتنت اینگونه نشان میدهد که گوشی تاشوی گوگل “Z-fold” است و دارای تو نقطه برای تا شدن. اما اینکه آیا گوگل گوشی انعطافپذیری تولید خواهد کرد یا خیر و اگر جواب مثبت است، این اتفاق چه زمانی خواهد افتاد، هنوز مشخص نیست. اما تحولات در این زمینه باعث هیجان ما میشود و این سوال مطرح میشود که آینده آن به کجا خواهد رسید. علاوهبراین هرچه رقابت در این بازار بیشتر شود، احتمال معرفی محصولات با قیمت پایینتر قوت میگیرد.








دیدگاهتان را بنویسید