موضوعات داغ
  • بتلفیلد 6
  • گوشی‌های سری گلکسی S26
  • آیفون 17 اپل
  • بازی GTA VI
  • گلکسی S25 FE
  • دینو
سخت افزار مگ
  • اخبار و مقالات
    • گوشی موبایل
      • لوازم جانبی موبایل
    • تبلت
    • لپ تاپ
    • دسکتاپ
      • مادربرد
      • پردازنده مرکزی
      • کارت گرافیک
      • تجهیزات ذخیره سازی
      • حافظه
      • صفحه نمایش
      • تجهیزات جانبی
    • تصویرگری دیجیتال
    • صوتی و تصویری
    • شبکه
    • نرم افزار و بازی
    • کالبدشکافی قطعات
    • مطالب گوناگون
  • بررسی
    • بررسی گوشی موبایل
    • بررسی تبلت
    • بررسی لپ تاپ
    • دسکتاپ
      • بررسی کولر و فن
      • بررسی مادربرد
      • بررسی کارت گرافیک
      • بررسی تجهیزات ذخیره سازی
      • بررسی حافظه
      • بررسی منبع تغذیه و کیس
      • بررسی تجهیزات جانبی
      • بررسی صفحه نمایش
    • بررسی تصویرگری دیجیتال
    • بررسی صوتی و تصویری
    • بررسی شبکه
    • بررسی نرم افزار و بازی
    • بررسی گوناگون
  • راهنمای خرید
    • سیستم پیشنهادی
  • لیست قیمت
    • گوشی موبایل
      • لیست قیمت روز گوشی‌های سامسونگ
      • لیست قیمت روز گوشی‌های شیائومی
      • لیست قیمت روز گوشی‌های هواوی
      • لیست قیمت روز گوشی های آنر
    • تبلت
    • لپ‌تاپ
    • قطعات کامپیوتر
      • لیست قیمت پردازنده
    • محصولات اپل
    • تجهیزات شبکه
    • لوازم خانگی
    • صوتی و تصویری
    • دوربین دیجیتال
    • تجهیزات بازی
    • خودرو
  • ویژه
    • مسابقات
    • نمایشگاه
تبلیغات
تبلیغات
تبلیغات

گوشی موبایل

احتمال تجهیز شدن گلکسی نوت 9 به سنسور اثر انگشت یکپارچه با نمایشگر قوت گرفت

Avatarتوسط شاهین رفوئی ·15 اردیبهشت 139722 اسفند 1398· 0

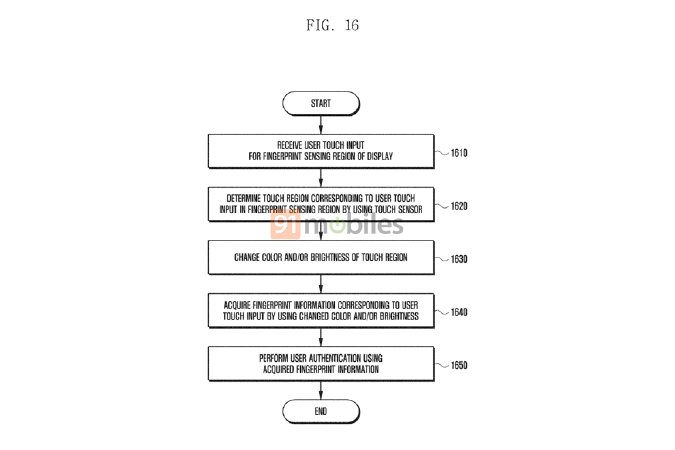
پیش از معرفی گلکسی اس 8 توسط سامسونگ، اکثر شایعات به مجهز بودن این پرچمدار به سنسور اثر انگشت تحت نمایشگر تاکید داشتند اما زمانی که این دستگاه معرفی شد، خبری از ویژگی مذکور نبود تا همین شایعات عینا در مورد گلکسی نوت 8 نیز بازگو شوند. اما این پرچمدار نیز از سنسور اثر انگشت در زیر نمایشگر برخوردار نشد تا امید کاربران به این باشد که سامسونگ این فناوری را در گلکسی اس 9 استفاده که باز هم امید کاربران ناامید شد. اکنون سامسونگ پتنت جدیدی را ثبت کرده که به سنسور اثر انگشت یکپارچه با نمایشگر اشاره دارد و احتمال استفاده از این سنسور را در پرچمدار بعدی این شرکت یعنی گلکسی نوت 9 افزایش داده است.

https://i-cdn.phonearena.com/images/articles/321938-image/Samsung-in-display-fingerprint-sensor-patent.jpg

همان طور که در طراحی های پتنت جدید سامسونگ شاهد هستید، این شرکت در حال بر روی سنسور جدیدی است که در داخل نمایشگر قرار میگیرد و اثر انگشت کاربر را اسکن میکند. زمانی که کاربر انگشت خود را بر روی نمایشگر امولد دستگاه قرار دهد، نمایشگر به طور خودکار روشن خواهد شد و بلافاصله سنسور اثر انگشت کاربر را اسکن خواهد کرد. در صورت احراز هویت کاربر، دسترسی به اطلاعات دستگاه ممکن میشود و در غیر این صورت دسترسی به دستگاه رد میشود.

https://i-cdn.phonearena.com/images/articles/321939-image/Samsung-in-display-fingerprint-sensor-patent.jpg

گلکسی نوت 9 سامسونگ انتظار میرود که در اواخر ماه آگوست (شهریور ماه)، مانند نسل های قبلی گوشی های سری نوت رونمایی شود. بنابراین احتمالا درز اطلاعات در مورد این دستگاه از اواخر ژوئن یا اوایل جولای آغاز خواهد شد و میتوانیم اطلاعات بیشتری را این پرچمدار و فناوری جدید سامسونگ برای سنسور اثر انگشت کسب کنیم. سامسونگ تاکنون به هر دلیلی موفق به استفاده از سنسورهای اثر انگشت یکپارچه با نمایشگر در گوشی های خود نشده اما به احتمال فراوان، این ویژگی در گلکسی اس 10 که سال آینده رونمایی شود وجود خواهد داشت. اسم رمز گلکسی اس 10 Beyond است و از نظر ظاهری شبیه به پرچمداران فعلی سامسونگ خواهد بود. احتمال برخورداری این پرچمدار از بریدگی نمایشگر سنسور و سنسور سه بعدی جدید نیز وجود دارد.

برچسب‌ها: سامسونگ, گلکسی نوت 9

بدون امتیاز
کمی صبر کنید...
تبلیغات
تبلیغات
سرخط خبرها:
  1. خسارت خاموشی اینترنت در ایران مافوق تصور است!
  2. Core 7 245HX اینتل معرفی شد؛ همان Core Ultra 5 235HX با نام گمراه‌کننده
  3. بازگشت به زندگی؛ روایت 50 روزی که عملاً آنلاین نبودیم!
  4. بررسی وضعیت اینترنت ایران در 100 روز اول سال 2026؛ بحرانی و فاجعه‌آمیز!
  5. بهترین تفنگ کالاف دیوتی موبایل چیست؟ (معرفی 5 گان خفن)

مطالب مرتبط ...

  • آیفون 12 3

    مقایسه دوربین آیفون 12 پرو با گلکسی نوت 20 الترا: بهترین‌های دو شرکت

    Avatarتوسط علیرضا قنبری · 7 آبان 1399 · 7 آبان 1399

  • 0

    انتشار تصاویری از گلکسی Tab S6 سامسونگ که قرار است به‌زودی معرفی شود

    Avatarتوسط سیمین نوربخش · 27 تیر 1398 · 27 تیر 1398

  • 0

    تماشا کنید: اولین تجربه با رابط کاربری جدید سامسونگ به نام One UI

    Avatarتوسط وب سایت سخت افزار · 16 آبان 1397 · 16 آبان 1397

مطالب گوناگون از دینو

کدام داروها می‌توانند تحمل گرما را سخت‌تر کنند؟

10 فیلم فوق‌ العاده که به شما کمک می کند بچه ها را بهتر درک کنید

چگونه از نشخوار افکار منفی و تجربیات گذشته خودداری کنیم؟

دیدگاهتان را بنویسید لغو پاسخ

نشانی ایمیل شما منتشر نخواهد شد. بخش‌های موردنیاز علامت‌گذاری شده‌اند *

در صورتی که نظر شما حاوی ناسزا، عبارات توهین‌آمیز و تهدید بوده و در تضاد با قوانین فعلی کشور باشد از انتشار آن بدون حذف موارد ذکر شده، معذوریم.
شکلک‌ها (اموجی‌ها) را می‌توانید با کیبرد گوشی یا کیبرد مجازی ویندوز قرار دهید.
تصاویر نویسندگان دیدگاه از Gravatar گرفته می‌شود.

پربحث‌ترین‌ها

  • 0

    بهترین تفنگ کالاف دیوتی موبایل چیست؟ (معرفی 5 گان خفن)

  • وضعیت اینترنت ایران در سال 2026 0

    بررسی وضعیت اینترنت ایران در 100 روز اول سال 2026؛ بحرانی و فاجعه‌آمیز!

  • 0

    بازگشت به زندگی؛ روایت 50 روزی که عملاً آنلاین نبودیم!

  • intel-quietly-launches-core-7-245hx 0

    Core 7 245HX اینتل معرفی شد؛ همان Core Ultra 5 235HX با نام گمراه‌کننده

آخرین بررسی‌ها

9.7

بررسی حافظه اس‌اس‌دی SAMSUNG 9100 PRO 2TB

9.3

بررسی مادربرد X870 AORUS STEALTH ICE گیگابایت

8.8

تماشا کنید: بررسی گوشی گلکسی A17 4G سامسونگ؛ اقتصادی تازه‌نفس

8.8

بررسی لپ تاپ MSI Vector 16 HX - اژدهای همه‌فن‌حریف

9.6

تماشا کنید: بررسی Aorus FO27Q3 گیگابایت | بهترین مانیتور گیمینگ 2025؟

آخرین مطالب دینو

انقلاب‌های جهان: مهم‌ترین انقلاب‌های تاریخ که تاثیرات مهمی بر جهان داشتند!

کتاب‌های درسی تاریخ پر از صفحاتی است که انقلاب‌های…

  • حقایقی درباره پنتاگون که ممکن است شما را شگفت‌زده کند

  • 0 تا 100 اجرای روف گاردن در تهران | از طراحی اصولی تا نگهداری

  • 7 مورد از بهترین حرکات یوگا برای تسکین استرس

  • آزادی بیان چیست و چه اهمیتی در جامعه دارد؟

  • مطلب بعدی ویژگی پرداخت درون برنامه به صورت آزمایشی به اینستاگرام اضافه شد
  • مطلب قبلی تماشا کنید: نگاهی کوتاه به گوشی هوآوی Y7 Prime 2018
  • آخرین مطالب
  • محبوب‌ترین مطالب
  • خسارت خاموشی اینترنت در ایران مافوق تصور است!

  • intel-quietly-launches-core-7-245hx

    Core 7 245HX اینتل معرفی شد؛ همان Core Ultra 5 235HX با نام گمراه‌کننده

  • بازگشت به زندگی؛ روایت 50 روزی که عملاً آنلاین نبودیم!

  • وضعیت اینترنت ایران در سال 2026

    بررسی وضعیت اینترنت ایران در 100 روز اول سال 2026؛ بحرانی و فاجعه‌آمیز!

  • بهترین تفنگ کالاف دیوتی موبایل چیست؟ (معرفی 5 گان خفن)

  • 0

    بهترین تفنگ کالاف دیوتی موبایل چیست؟ (معرفی 5 گان خفن)

  • وضعیت اینترنت ایران در سال 2026 0

    بررسی وضعیت اینترنت ایران در 100 روز اول سال 2026؛ بحرانی و فاجعه‌آمیز!

  • 0

    بازگشت به زندگی؛ روایت 50 روزی که عملاً آنلاین نبودیم!

  • intel-quietly-launches-core-7-245hx 0

    Core 7 245HX اینتل معرفی شد؛ همان Core Ultra 5 235HX با نام گمراه‌کننده

  • 0

    خسارت خاموشی اینترنت در ایران مافوق تصور است!

آخرین دیدگاه‌ها

  • Avatar
    سیمین نوربخش گفته است:
    امیدواریم حال شما هم خوب باشه.
  • Avatar
    MarkReethes گفته است:
    دقیقا همینطوره بیشتر هزینه کنی از دوتا برند معتبر بگیری خیلی...
  • Avatar
    MarkReethes گفته است:
    دقیقا همینطوره بیشتر هزینه کنی از دوتا برند معتبر بگیری خیلی...
  • Avatar
    Sak Das گفته است:
    یوسی پاپ جیگیم
  • Avatar
    Sak Das گفته است:
    یوسی
  • Avatar
    واحید نوری گفته است:
    سلام
  • Avatar
    راشد گفته است:
    روبیکا
  • Avatar
    Farhadali Wakili گفته است:
    من عکس های طبیعت و گیمینگ میخوام
  • Avatar
    مهدی گفته است:
    منم یک لبتاپ گیمینگ ازشون خریدم اول این که با طور...
  • Avatar
    Farzam گفته است:
    امیدوارم حال همه خوب باشه. 🖤
راهنمای خرید لپ تاپ گیمینگ 470
راهنمای خرید و مشاوره هایلایت
راهنمای خرید لپ تاپ گیمینگ با بودجه های مختلف (دی 1404)
13 دی 1404
راهنمای خرید لپ تاپ با بودجه های مختلف 1,303
راهنمای خرید و مشاوره هایلایت
راهنمای خرید لپ تاپ با بودجه های مختلف (دی 1404)
10 دی 1404
راهنمای خرید مانیتور آذر 1404 70
راهنمای خرید و مشاوره
راهنمای خرید مانیتور با بهترین قیمت در بودجه‌های مختلف (دی 1404)
6 دی 1404
راهنمای خرید گوشی موبایل آذر 491
راهنمای خرید و مشاوره
راهنمای خرید گوشی موبایل بر اساس بودجه‌های مختلف (دی 1404)
5 دی 1404
7,765
راهنمای خرید و مشاوره سیستم پیشنهادی هایلایت
راهنمای خرید و مشاوره سیستم کامپیوتر با بودجه های مختلف (دی 1404)
3 دی 1404
راهنمای خرید و مشاوره هدفون و هدست با بودجه های مختلف (آبان 1404) 0
اخبار و مقالات راهنمای خرید و مشاوره هایلایت
راهنمای خرید و مشاوره هدفون و هدست با بودجه های مختلف (آبان 1404)
27 آبان 1404
  • سخت‌افزارمگ
  • درباره ما
  • تبلیغات
  • استخدام
سخت‌افزارمگ

© 2026 Sakhtafzarmag.Com. All Rights Reserved.

صفحه نخست » اخبار و مقالات » گوشی موبایل » احتمال تجهیز شدن گلکسی نوت 9 به سنسور اثر انگشت یکپارچه با نمایشگر قوت گرفت

ورود

عضویت

رمزتان را گم کرده‌اید؟

عضویت | رمزتان را گم کرده‌اید؟
| بازگشت به ورود