زمانی دستیارهای دیجیتال شخصی (PDA) اوج ابزارهای قابل حملی بودند که می توانستیم در قالب یک کامپیوتر شخصی در جیب بگذاریم و برای برنامه ریزی کارهای خود روی آنها حساب کنیم. امروزه گوشی های هوشمند چنان توان پردازشی بالایی را در اختیار می گذارند و امکان کوچک نمودن اجزای الکترونیکی تا جایی ممکن شده که شاهد ساعت های هوشمند و دیگر ابزارهای هوشمند پوشیدنی هستیم. با چنین پیشرفتی کاملا محتمل است که در آینده نزدیک شاهد حلقه ای هوشمند و کارا باشیم و ببینیم یک سیستم پردازشی کامل موبایل در کالبد یک انگشتر عرضه می گردد.
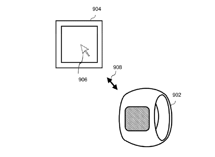
اپل در ماه آوریل فرم درخواستی را برای یک پتنت تازه پر نموده که هم اکنون و در وب سایت سازمان پتنت ها و علایم تجاری آمریکا می توانید آن را بیابید. این پتنت به انگشتر (یا حلقه ای) هوشمند اشاره دارد که محل نگین در آن با سطحی لمسی (که به نظر می رسد صفحه نمایش باشد) پوشانده شده است. این انگشتر می تواند به عنوان یک کنترلر بی سیم برای بازی ها و یا برای کنترل دکمه شاتر دوربین استفاده شود. همچنین شاید بتوان حرکت نشانگر بر نمایشگر کامپیوتر را به کمک آن کنترل نمود و یا سنسور اثر انگشت را در آن برای استفاده از سرویس Apple Pay جای داد. آنطور که در اسناد پتنت آمده، گونه ای از انگشتر (یا حلقه) به دوربین مجهز بوده و البته یک میکروفون نیز برای ارسال فرامین صوتی به Siri در آن تعبیه می شود. از جایی که پتنت مورد بحث برای طراحی نبوده و به قابلیت های انگشتر مربوط می شود، این ابزار پوشیدنی می تواند هر شکل و شمایلی داشته باشد.











اپل = عشق
باحاله
ارباب همه چیزو میدونه، ارباب از همه چی خبر داره:-s
AND ONE RING TO RULE THEM ALL