موضوعات داغ
  • بتلفیلد 6
  • گوشی‌های سری گلکسی S26
  • آیفون 17 اپل
  • بازی GTA VI
  • گلکسی S25 FE
  • دینو
سخت افزار مگ
  • اخبار و مقالات
    • گوشی موبایل
      • لوازم جانبی موبایل
    • تبلت
    • لپ تاپ
    • دسکتاپ
      • مادربرد
      • پردازنده مرکزی
      • کارت گرافیک
      • تجهیزات ذخیره سازی
      • حافظه
      • صفحه نمایش
      • تجهیزات جانبی
    • تصویرگری دیجیتال
    • صوتی و تصویری
    • شبکه
    • نرم افزار و بازی
    • کالبدشکافی قطعات
    • مطالب گوناگون
  • بررسی
    • بررسی گوشی موبایل
    • بررسی تبلت
    • بررسی لپ تاپ
    • دسکتاپ
      • بررسی کولر و فن
      • بررسی مادربرد
      • بررسی کارت گرافیک
      • بررسی تجهیزات ذخیره سازی
      • بررسی حافظه
      • بررسی منبع تغذیه و کیس
      • بررسی تجهیزات جانبی
      • بررسی صفحه نمایش
    • بررسی تصویرگری دیجیتال
    • بررسی صوتی و تصویری
    • بررسی شبکه
    • بررسی نرم افزار و بازی
    • بررسی گوناگون
  • راهنمای خرید
    • سیستم پیشنهادی
  • لیست قیمت
    • گوشی موبایل
      • لیست قیمت روز گوشی‌های سامسونگ
      • لیست قیمت روز گوشی‌های شیائومی
      • لیست قیمت روز گوشی‌های هواوی
      • لیست قیمت روز گوشی های آنر
    • تبلت
    • لپ‌تاپ
    • قطعات کامپیوتر
      • لیست قیمت پردازنده
    • محصولات اپل
    • تجهیزات شبکه
    • لوازم خانگی
    • صوتی و تصویری
    • دوربین دیجیتال
    • تجهیزات بازی
    • خودرو
  • ویژه
    • مسابقات
    • نمایشگاه
تبلیغات
تبلیغات
تبلیغات

تجهیزات جانبی

آیا وجود نسل دوم گوگل گلس حقیقت دارد؟!

Avatarتوسط سعید شکروی ·7 آذر 139422 اسفند 1398· 1

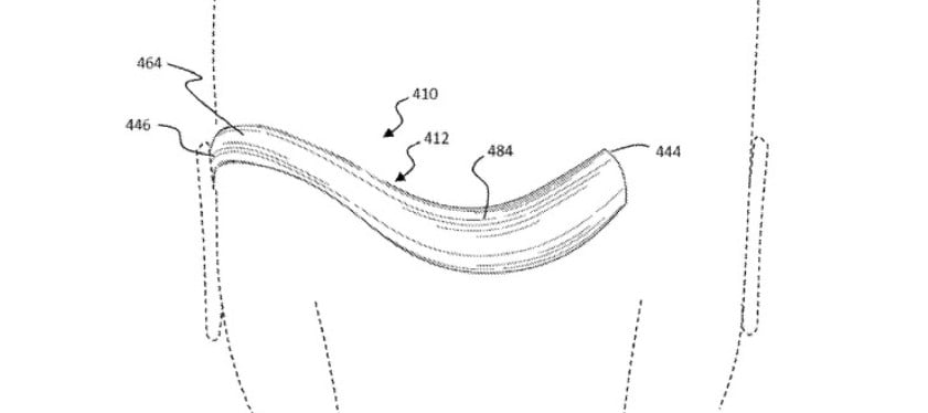
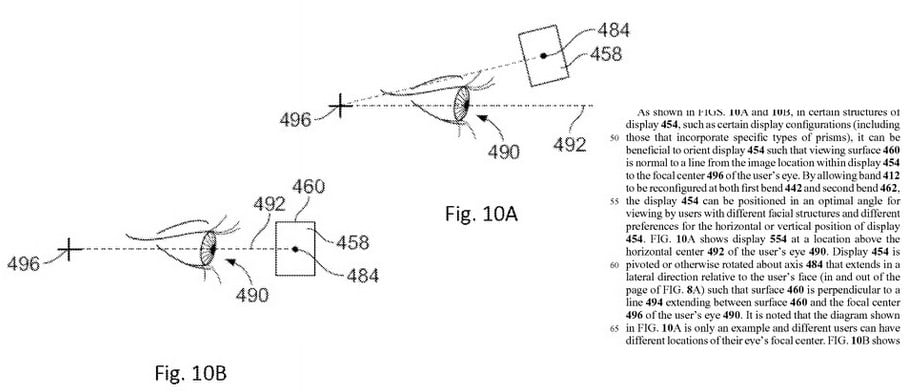
موارد بسیاری پیش آمده (و خواهد آمد) که فیلم های علمی-تخیلی الهام بخش اختراعات و گجت های مختلف دنیای فناوری بوده اند. یکی از این گجت های خاص و پر سر و صدا که چند سال پیش متولد شد، گوگل گلس بود که با ورود خود در قالب نمونه های آزمایشی و نسخه های محدود، موجی از هیجان و انتقاد را میان کاربران به راه انداخت. ورود با گوگل گلس به مکان های عمومی بسیاری چون رستوران ها و سینما به دلیل نقض حریم خصوصی و قانون کپی رایت ممنوع شد و افرادی که این ابزار را بر چشم داشتند “Glasshole” نامیده می شدند! به نظر می رسید گوگل پروژه گلس خود را رها کرده باشد و حتی نیروهای آن به بخش دیگری منتقل شدند؛ تا به امروز که خبر تایید پتنتی تازه برای گجتی با عنوان “ابزار پوشیدنی با ساختار ورودی و خروجی” منتشر شد.

شاید بتوان اسم این ابزار را گوگل گلس 2 نهاد. بر خلاف نمونه اصلی، اینبار دیگر از عینکی که سراسر صورت را می پوشاند خبری نیست و یکی از چشم ها (شاید صرفا چشم چپ) در معرض پروژکتور بسیار کوچکی قرار گرفته و مابقی بدنه روی گوش عبور نموده و تا پشت سر ادامه دارد. البته گفته شده که چشم دیگر هم به کمک یک منشور می تواند دریافت کننده تصویر باشد. جالب اینکه زمان درخواست پتنت به سپتامبر 2012 باز می گردد؛ هنگامی که هنوز آن موج منفی علیه گوگل گلس به راه نیافتاده بود. شاید اینبار گوگل با احتیاط بیشتری صرفا ادارات و سازمان ها را بازار هدف قرار داده و دیگر آن بلند پروازی پیشین را نداشته باشد.

در رای گیری فینال انتخاب بهترین گوشی سال از دید کاربران وب سایت سخت افزار شرکت کنید! رای شما، برترین تلفن هوشمند سال 2015 را تعیین می کند.

برای با خبر شدن از آخرین اطلاعات در زمینه تجهیزات الکترونیک، بازی ها و مطالب مختلف در زمینه تکنولوژی، کانال وب سایت سخت افزار در تلگرام را فراموش نکنید. اگر آخرین نسخه از این برنامه را روی موبایل یا رایانه نصب کرده اید تنها با کلیک کردن (یا تپ کردن) روی آدرسhttps://telegram.me/sakhtafzarmag می توانید در کانال ما عضو شوید. همچنین برای اطلاع از دقیق ترین مشخصات و قیمت های گوشی های هوشمند در بازار ایران می توانید به وب سایت کالای ما به نشانی https://kalamag.com مراجعه کنید.

c
x
z

برچسب‌ها: عینک گوگل, گوگل, گوگل گلس

بدون امتیاز
کمی صبر کنید...
تبلیغات
تبلیغات
سرخط خبرها:
  1. حرکت ایران به سمت اینترنت نیمه‌ملی؛ آیا اجرای مدل «دیوار آتش بزرگ» چین در کشور جواب خواهد داد؟
  2. اینترنت پرو بساط فروش فیلترشکن را جمع می‌کند
  3. معاون دفتر رئیس‌جمهور: محدودیت‌های اینترنت بین‌الملل دائمی نیستند
  4. فیروزآبادی: فیلترینگ به روش «لیست سفید» بیهوده است
  5. افشای جزئیات تکان‌دهنده از حامی اصلی طرح اینترنت پرو

مطالب مرتبط ...

  • کاهش درآمد آلفابت 0

    کاهش درآمد آلفابت برای اولین بار بعد از 22 سال – ضربه کرونا به سازمان مادر گوگل

    Avatarتوسط شاهین رفوئی · 11 مرداد 1399 · 11 مرداد 1399

  • 2

    گوشی Meizu MX4 رقیبی که می تواند مشکل ساز شود! (وقتی چینی ها می خواهند بجنگند)

    Avatarتوسط رایان پناهی · 24 مرداد 1393 · 24 مرداد 1393

  • 0

    نسل بعدی پیکسل بوک در فایل FCC رویت شد

    Avatarتوسط مهتاب جهاندار · 6 مرداد 1398 · 6 مرداد 1398

مطالب گوناگون از دینو

کدام داروها می‌توانند تحمل گرما را سخت‌تر کنند؟

10 فیلم فوق‌ العاده که به شما کمک می کند بچه ها را بهتر درک کنید

چگونه از نشخوار افکار منفی و تجربیات گذشته خودداری کنیم؟

یک دیدگاه

  • دیدگاه1
  1. Avatar rohit گفت:
    7 آذر 1394 در 11:10 ق.ظ

    اینجور چیزا فقط به درد جاسوسی میخوره . البته باهاش تقلب هم میشه کرد مثلا سر جلسه امتحان یا تو مسابقه شطرنج.

    پاسخ

دیدگاهتان را بنویسید لغو پاسخ

نشانی ایمیل شما منتشر نخواهد شد. بخش‌های موردنیاز علامت‌گذاری شده‌اند *

در صورتی که نظر شما حاوی ناسزا، عبارات توهین‌آمیز و تهدید بوده و در تضاد با قوانین فعلی کشور باشد از انتشار آن بدون حذف موارد ذکر شده، معذوریم.
شکلک‌ها (اموجی‌ها) را می‌توانید با کیبرد گوشی یا کیبرد مجازی ویندوز قرار دهید.
تصاویر نویسندگان دیدگاه از Gravatar گرفته می‌شود.

پربحث‌ترین‌ها

  • مدل اینترنت چین در ایران 0

    حرکت ایران به سمت اینترنت نیمه‌ملی؛ آیا اجرای مدل «دیوار آتش بزرگ» چین در کشور جواب خواهد داد؟

  • بازی کامپیوتری و اینترنت اشیا 0

    راه‌اندازی اینترنت مخصوص بازی در سایه خاموشی شبکه جهانی!

  • 0

    شکایت صداوسیما از آپارات به دلیل پخش غیرمجاز بیش از 750 اثر متعلق به سازمان

  • درآمد یوتوبرهای ایرانی 0

    آیا درآمد یوتوبرهای ایرانی به نقطه صفر رسیده است؟

آخرین بررسی‌ها

9.7

بررسی حافظه اس‌اس‌دی SAMSUNG 9100 PRO 2TB

9.3

بررسی مادربرد X870 AORUS STEALTH ICE گیگابایت

8.8

تماشا کنید: بررسی گوشی گلکسی A17 4G سامسونگ؛ اقتصادی تازه‌نفس

8.8

بررسی لپ تاپ MSI Vector 16 HX - اژدهای همه‌فن‌حریف

9.6

تماشا کنید: بررسی Aorus FO27Q3 گیگابایت | بهترین مانیتور گیمینگ 2025؟

آخرین مطالب دینو

انقلاب‌های جهان: مهم‌ترین انقلاب‌های تاریخ که تاثیرات مهمی بر جهان داشتند!

کتاب‌های درسی تاریخ پر از صفحاتی است که انقلاب‌های…

  • حقایقی درباره پنتاگون که ممکن است شما را شگفت‌زده کند

  • 0 تا 100 اجرای روف گاردن در تهران | از طراحی اصولی تا نگهداری

  • 7 مورد از بهترین حرکات یوگا برای تسکین استرس

  • آزادی بیان چیست و چه اهمیتی در جامعه دارد؟

  • مطلب بعدی آیفون 7 جک 3.5 میلی متری هدفون نخواهد داشت!
  • مطلب قبلی تقدیر شایسته سازندگان بازی Dying Light از هوادار نوجوانشان
  • آخرین مطالب
  • محبوب‌ترین مطالب
  • مدل اینترنت چین در ایران

    حرکت ایران به سمت اینترنت نیمه‌ملی؛ آیا اجرای مدل «دیوار آتش بزرگ» چین در کشور جواب خواهد داد؟

  • اینترنت پرو

    اینترنت پرو بساط فروش فیلترشکن را جمع می‌کند

  • دائمی نبودن محدودیت اینترنت بین‌الملل

    معاون دفتر رئیس‌جمهور: محدودیت‌های اینترنت بین‌الملل دائمی نیستند

  • انتقاد از فیلترینگ به روش لیست سفید

    فیروزآبادی: فیلترینگ به روش «لیست سفید» بیهوده است

  • افشای جزئیات تکان‌دهنده از حامی اصلی طرح اینترنت پرو

  • مدل اینترنت چین در ایران 0

    حرکت ایران به سمت اینترنت نیمه‌ملی؛ آیا اجرای مدل «دیوار آتش بزرگ» چین در کشور جواب خواهد داد؟

  • بازی کامپیوتری و اینترنت اشیا 0

    راه‌اندازی اینترنت مخصوص بازی در سایه خاموشی شبکه جهانی!

  • 0

    شکایت صداوسیما از آپارات به دلیل پخش غیرمجاز بیش از 750 اثر متعلق به سازمان

  • درآمد یوتوبرهای ایرانی 0

    آیا درآمد یوتوبرهای ایرانی به نقطه صفر رسیده است؟

  • 0

    افشای جزئیات تکان‌دهنده از حامی اصلی طرح اینترنت پرو

آخرین دیدگاه‌ها

  • Avatar
    حمید گفته است:
    من نبودم دستم بود
  • Avatar
    حمید گفته است:
    دور و زمونه رو ببین سرنوشتمون افتاده دست کیا
  • Avatar
    کیومرس گفته است:
    کلاب هاوس راه ارتباط وتبادل دیگاه با دوستانم هست
  • Avatar
    احسان دهقانی گفته است:
    سلام منم از 27 آبان 1404 یک لپتاپ سفاررش دادم و...
  • Avatar
    Maryam Omarzad گفته است:
    چگونه حساب بسازیم لطفا بگوین
  • Avatar
    سیمین نوربخش گفته است:
    امیدواریم حال شما هم خوب باشه.
  • Avatar
    MarkReethes گفته است:
    دقیقا همینطوره بیشتر هزینه کنی از دوتا برند معتبر بگیری خیلی...
  • Avatar
    MarkReethes گفته است:
    دقیقا همینطوره بیشتر هزینه کنی از دوتا برند معتبر بگیری خیلی...
  • Avatar
    Sak Das گفته است:
    یوسی پاپ جیگیم
  • Avatar
    Sak Das گفته است:
    یوسی
راهنمای خرید لپ تاپ گیمینگ 470
راهنمای خرید و مشاوره هایلایت
راهنمای خرید لپ تاپ گیمینگ با بودجه های مختلف (دی 1404)
13 دی 1404
راهنمای خرید لپ تاپ با بودجه های مختلف 1,303
راهنمای خرید و مشاوره هایلایت
راهنمای خرید لپ تاپ با بودجه های مختلف (دی 1404)
10 دی 1404
راهنمای خرید مانیتور آذر 1404 70
راهنمای خرید و مشاوره
راهنمای خرید مانیتور با بهترین قیمت در بودجه‌های مختلف (دی 1404)
6 دی 1404
راهنمای خرید گوشی موبایل آذر 491
راهنمای خرید و مشاوره
راهنمای خرید گوشی موبایل بر اساس بودجه‌های مختلف (دی 1404)
5 دی 1404
7,765
راهنمای خرید و مشاوره سیستم پیشنهادی هایلایت
راهنمای خرید و مشاوره سیستم کامپیوتر با بودجه های مختلف (دی 1404)
3 دی 1404
راهنمای خرید و مشاوره هدفون و هدست با بودجه های مختلف (آبان 1404) 0
اخبار و مقالات راهنمای خرید و مشاوره هایلایت
راهنمای خرید و مشاوره هدفون و هدست با بودجه های مختلف (آبان 1404)
27 آبان 1404
  • سخت‌افزارمگ
  • درباره ما
  • تبلیغات
  • استخدام
سخت‌افزارمگ

© 2026 Sakhtafzarmag.Com. All Rights Reserved.

صفحه نخست » اخبار و مقالات » دسکتاپ » تجهیزات جانبی » آیا وجود نسل دوم گوگل گلس حقیقت دارد؟!

ورود

عضویت

رمزتان را گم کرده‌اید؟

عضویت | رمزتان را گم کرده‌اید؟
| بازگشت به ورود