موضوعات داغ
  • بتلفیلد 6
  • گوشی‌های سری گلکسی S26
  • آیفون 17 اپل
  • بازی GTA VI
  • گلکسی S25 FE
  • دینو
سخت افزار مگ
  • اخبار و مقالات
    • گوشی موبایل
      • لوازم جانبی موبایل
    • تبلت
    • لپ تاپ
    • دسکتاپ
      • مادربرد
      • پردازنده مرکزی
      • کارت گرافیک
      • تجهیزات ذخیره سازی
      • حافظه
      • صفحه نمایش
      • تجهیزات جانبی
    • تصویرگری دیجیتال
    • صوتی و تصویری
    • شبکه
    • نرم افزار و بازی
    • کالبدشکافی قطعات
    • مطالب گوناگون
  • بررسی
    • بررسی گوشی موبایل
    • بررسی تبلت
    • بررسی لپ تاپ
    • دسکتاپ
      • بررسی کولر و فن
      • بررسی مادربرد
      • بررسی کارت گرافیک
      • بررسی تجهیزات ذخیره سازی
      • بررسی حافظه
      • بررسی منبع تغذیه و کیس
      • بررسی تجهیزات جانبی
      • بررسی صفحه نمایش
    • بررسی تصویرگری دیجیتال
    • بررسی صوتی و تصویری
    • بررسی شبکه
    • بررسی نرم افزار و بازی
    • بررسی گوناگون
  • راهنمای خرید
    • سیستم پیشنهادی
  • لیست قیمت
    • گوشی موبایل
      • لیست قیمت روز گوشی‌های سامسونگ
      • لیست قیمت روز گوشی‌های شیائومی
      • لیست قیمت روز گوشی‌های هواوی
      • لیست قیمت روز گوشی های آنر
    • تبلت
    • لپ‌تاپ
    • قطعات کامپیوتر
      • لیست قیمت پردازنده
    • محصولات اپل
    • تجهیزات شبکه
    • لوازم خانگی
    • صوتی و تصویری
    • دوربین دیجیتال
    • تجهیزات بازی
    • خودرو
  • ویژه
    • مسابقات
    • نمایشگاه
تبلیغات
تبلیغات
تبلیغات

مطالب گوناگون

پتنت تازه اپل و تکنیکی ویژه برای کاهش آسیب به آیفون در اثر سقوط ناخواسته!

Avatarتوسط سعید شکروی ·13 آذر 139313 آذر 1393· 4

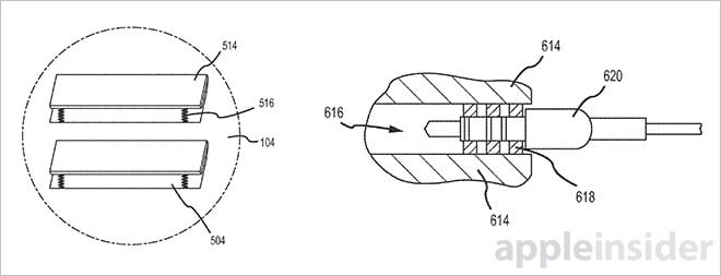
گوشی های هوشمند ابزارهای توانمندی هستند و روز به روز مرزهای نفوذ خود را در زندگی ما گسترش می دهند. یکی از اصلی ترین دلایل این نفوذ ابعاد آنهاست و اینکه در واقع کامپیوترهای کوچکی هستند که حملشان کاملا داوطلبانه انجام می شود! البته این کوچکی و قابلیت حمل احتمال آسیب به آن در برابر ضربات و سقوط های ناخواسته را افزایش می دهد و از همین رو اپل به تازگی پتنتی ویژه را به ثبت رسانده که با تکنیکی خاص اثر آسیب های وارده از حوادث این چنینی را کاهش دهد.

بر پایه این پتنت، سنسورهایی که هم اکنون در درون گوشی ها می بینیم کاربردی تازه می یابند و آن تعیین موقعیت گوشی در لحظه برخورد به سطح زمین است. بر پایه داده های این سنسورها، پردازنده ویژه ای پردازش های لازم را انجام داده و نتیجه آن را به سمت موتوری با مرکز جرم غیر متقارن می فرستد. این موتور با اقدام خود، موقعیت گوشی را در میان زمین و هوا(!) به شکلی تغییر می دهد که نقطه فرود از بخش کمتر آسیب پذیر باشد؛ یعنی فرضا دستگاه بر روی صفحه نمایش فرود نیاید. در حقیقت، همین موتورهای ویبره فعلی با قدرتی بیشتر و توانی بالاتر می توانند امکان این تغییر موقعیت را برای ما فراهم کنند.

1
2
3

برچسب‌ها: آیفون, آیفون 5, آیفون 6, آیفون 6 پلاس, اپل

بدون امتیاز
کمی صبر کنید...
تبلیغات
تبلیغات
سرخط خبرها:
  1. رادارهای جهانی: اینترنت ایران بازگشت؛ اما محدودیت‌ها همچنان روی پیام‌رسان‌ها برقرار است
  2. گزارش کاربران از عدم امکان اتصال به گوگل‌ پلی پس از بازگشایی اینترنت
  3. موضع‌گیری جدید تقی‌پور: هرگز موافق قطع اینترنت نبوده و نیستم
  4. توصیه‌ معاون وزیر ارتباطات به مردم پس از اتصال دوباره به اینترنت
  5. فوری: اتصال جهانی ایران از همین دقایق احیا می‌شود (به‌روزرسانی: آغاز اتصال اینترنت مخابرات)

مطالب مرتبط ...

  • 0

    طراحی آیفون 17 لو رفت؛ آیا اپل دوباره غوغا می‌کند؟

    Avatarتوسط مهرانه راجعی · 23 آذر 1403 · 23 آذر 1403

  • 0

    هوش مصنوعی اپل در هاله‌ای از ابهام؛ سیری همچنان ناکام!

    Avatarتوسط مهرانه راجعی · 27 اسفند 1403 · 27 اسفند 1403

  • 0

    ظاهرا اپل مدیر ارتباطات بخش AR شرکت متا را استخدام کرده است

    Avatarتوسط بهنام آزادخواه · 6 دی 1400 · 6 دی 1400

مطالب گوناگون از دینو

کدام داروها می‌توانند تحمل گرما را سخت‌تر کنند؟

10 فیلم فوق‌ العاده که به شما کمک می کند بچه ها را بهتر درک کنید

چگونه از نشخوار افکار منفی و تجربیات گذشته خودداری کنیم؟

4 دیدگاه

  • دیدگاه4
  1. Avatar رضا اندی گفت:
    13 آذر 1393 در 8:08 ق.ظ

    کار خاصی نکرده این موضوع رو من خیلی وقت پیش شنیدم تازه نه از اپل
    بزار ببینم کاربردی میشه یا نه
    یه چیزی هم بگم اپل اگه خودشو بکشه من ازش نمیخرم مگه اینکه قیمتشو خیلی پایینتر از اینی که هست بیاره
    الان مهمترین فاکتور قیمته
    بربری شد هفتصد صلوات
    اینم از تورم رو ب کاهش کشور ما

    پاسخ
  2. Avatar سید علی موسوی نژاد گفت:
    13 آذر 1393 در 7:10 ق.ظ

    مثل این میمونه که گربرو از هر جایی میندازی روی چهار دستو پا فرود میاد به خاطر استخوان انعطاف پذیرشون هست. کلا از این حرکت اپل خوشم امد.

    پاسخ
  3. Avatar Jalal OstadAhmad گفت:
    13 آذر 1393 در 6:39 ق.ظ

    اگر کاربردی بشه خوبه…،
    اپل انگار یه تکونی به خودش داره میده بعد از مدتها !

    پاسخ
  4. Avatar كارن گفت:
    13 آذر 1393 در 6:39 ق.ظ

    بالاخره كارى رو كه بايد ميكرد كرد. ولى من فك كنم اگه گوشى از جاى پهن مثل پشت و صفحه بيوفته آسيب كمترى ميبينه ( چون فشار ناشى از ضربه در مساحت بيشترى پهش ميشه )

    پاسخ

دیدگاهتان را بنویسید لغو پاسخ

نشانی ایمیل شما منتشر نخواهد شد. بخش‌های موردنیاز علامت‌گذاری شده‌اند *

در صورتی که نظر شما حاوی ناسزا، عبارات توهین‌آمیز و تهدید بوده و در تضاد با قوانین فعلی کشور باشد از انتشار آن بدون حذف موارد ذکر شده، معذوریم.
شکلک‌ها (اموجی‌ها) را می‌توانید با کیبرد گوشی یا کیبرد مجازی ویندوز قرار دهید.
تصاویر نویسندگان دیدگاه از Gravatar گرفته می‌شود.

پربحث‌ترین‌ها

  • اتصال جهانی ایران تا دقایق دیگر 4

    فوری: اتصال جهانی ایران از همین دقایق احیا می‌شود (به‌روزرسانی: آغاز اتصال اینترنت مخابرات)

  • تکلیف پول خریداران اینترنت پرو 2

    تکلیف پول‌های خریداران اینترنت پرو پس از بازگشایی اینترنت چیست؟

  • مخالفان طرح بازگشت اینترنت بین‌الملل 1

    افشای نام مخالفان طرح بازگشت اینترنت در جلسه ستاد ساماندهی فضای مجازی

  • اتصال امنیت 1

    توصیه‌ معاون وزیر ارتباطات به مردم پس از اتصال دوباره به اینترنت

آخرین بررسی‌ها

9.7

بررسی حافظه اس‌اس‌دی SAMSUNG 9100 PRO 2TB

9.3

بررسی مادربرد X870 AORUS STEALTH ICE گیگابایت

8.8

تماشا کنید: بررسی گوشی گلکسی A17 4G سامسونگ؛ اقتصادی تازه‌نفس

8.8

بررسی لپ تاپ MSI Vector 16 HX - اژدهای همه‌فن‌حریف

9.6

تماشا کنید: بررسی Aorus FO27Q3 گیگابایت | بهترین مانیتور گیمینگ 2025؟

آخرین مطالب دینو

انقلاب‌های جهان: مهم‌ترین انقلاب‌های تاریخ که تاثیرات مهمی بر جهان داشتند!

کتاب‌های درسی تاریخ پر از صفحاتی است که انقلاب‌های…

  • حقایقی درباره پنتاگون که ممکن است شما را شگفت‌زده کند

  • 0 تا 100 اجرای روف گاردن در تهران | از طراحی اصولی تا نگهداری

  • 7 مورد از بهترین حرکات یوگا برای تسکین استرس

  • آزادی بیان چیست و چه اهمیتی در جامعه دارد؟

  • مطلب بعدی برترین گوشی های 2014 برای استفاده با دستکش و در سرمای زمستان
  • مطلب قبلی دیمو با ۴ گوشی هوشمند جدید خوش قیمت آمد
  • آخرین مطالب
  • محبوب‌ترین مطالب
  • بازگشت اینترنت با اختلال

    رادارهای جهانی: اینترنت ایران بازگشت؛ اما محدودیت‌ها همچنان روی پیام‌رسان‌ها برقرار است

  • گزارش کاربران از عدم امکان اتصال به گوگل‌ پلی پس از بازگشایی اینترنت

  • تقی‌پور: موافق قطع اینترنت نبودم

    موضع‌گیری جدید تقی‌پور: هرگز موافق قطع اینترنت نبوده و نیستم

  • اتصال امنیت

    توصیه‌ معاون وزیر ارتباطات به مردم پس از اتصال دوباره به اینترنت

  • اتصال جهانی ایران تا دقایق دیگر

    فوری: اتصال جهانی ایران از همین دقایق احیا می‌شود (به‌روزرسانی: آغاز اتصال اینترنت مخابرات)

  • اتصال جهانی ایران تا دقایق دیگر 4

    فوری: اتصال جهانی ایران از همین دقایق احیا می‌شود (به‌روزرسانی: آغاز اتصال اینترنت مخابرات)

  • تکلیف پول خریداران اینترنت پرو 2

    تکلیف پول‌های خریداران اینترنت پرو پس از بازگشایی اینترنت چیست؟

  • مخالفان طرح بازگشت اینترنت بین‌الملل 1

    افشای نام مخالفان طرح بازگشت اینترنت در جلسه ستاد ساماندهی فضای مجازی

  • اتصال امنیت 1

    توصیه‌ معاون وزیر ارتباطات به مردم پس از اتصال دوباره به اینترنت

  • بازگشت اینترنت با اختلال 0

    رادارهای جهانی: اینترنت ایران بازگشت؛ اما محدودیت‌ها همچنان روی پیام‌رسان‌ها برقرار است

آخرین دیدگاه‌ها

  • Avatar
    ناشناس گفته است:
    خواهشا اینترنت را وصل نکنید آقایونی که به این طرح رای...
  • Avatar
    فرشاد گفته است:
    احتمالا افرادی ک پرو دارن در یه چارت میمونن و مواقعی...
  • Avatar
    Alireza Ghanbari گفته است:
    سلام من یکی از قدیمی ترین کاربراتون هستم. خیلی خوشحال شدم...
  • Avatar
    داریوش گفته است:
    انگار زنده موندن توی جنگ و پیروزی بر بیگانگانی که دنبال...
  • Avatar
    بهادر گفته است:
    شما اول بگو کدوم وصل شدنِ اینترنت؟! وصل نشده که !...
  • Avatar
    امیرحسین گفته است:
    توی نمام مدت قطعی اینترنت سایتتون برام بالا نمیومد الان که...
  • Avatar
    Farzam گفته است:
    من وصل شدم. (مخابرات) سرعت پائینه به‌شدت. ولی وصله.
  • Avatar
    بهنام گفته است:
    سلام و درود.
  • Avatar
    HA55AN گفته است:
    من تازه امروز تونستم به سایت تون وارد شم
  • Avatar
    HA55AN گفته است:
    بمیرن براتون
راهنمای خرید لپ تاپ گیمینگ 470
راهنمای خرید و مشاوره هایلایت
راهنمای خرید لپ تاپ گیمینگ با بودجه های مختلف (دی 1404)
13 دی 1404
راهنمای خرید لپ تاپ با بودجه های مختلف 1,303
راهنمای خرید و مشاوره هایلایت
راهنمای خرید لپ تاپ با بودجه های مختلف (دی 1404)
10 دی 1404
راهنمای خرید مانیتور آذر 1404 70
راهنمای خرید و مشاوره
راهنمای خرید مانیتور با بهترین قیمت در بودجه‌های مختلف (دی 1404)
6 دی 1404
راهنمای خرید گوشی موبایل آذر 491
راهنمای خرید و مشاوره
راهنمای خرید گوشی موبایل بر اساس بودجه‌های مختلف (دی 1404)
5 دی 1404
7,765
راهنمای خرید و مشاوره سیستم پیشنهادی هایلایت
راهنمای خرید و مشاوره سیستم کامپیوتر با بودجه های مختلف (دی 1404)
3 دی 1404
راهنمای خرید و مشاوره هدفون و هدست با بودجه های مختلف (آبان 1404) 0
اخبار و مقالات راهنمای خرید و مشاوره هایلایت
راهنمای خرید و مشاوره هدفون و هدست با بودجه های مختلف (آبان 1404)
27 آبان 1404
  • سخت‌افزارمگ
  • درباره ما
  • تبلیغات
  • استخدام
سخت‌افزارمگ

© 2026 Sakhtafzarmag.Com. All Rights Reserved.

صفحه نخست » اخبار و مقالات » مطالب گوناگون » پتنت تازه اپل و تکنیکی ویژه برای کاهش آسیب به آیفون در اثر سقوط ناخواسته!

ورود

عضویت

رمزتان را گم کرده‌اید؟

عضویت | رمزتان را گم کرده‌اید؟
| بازگشت به ورود