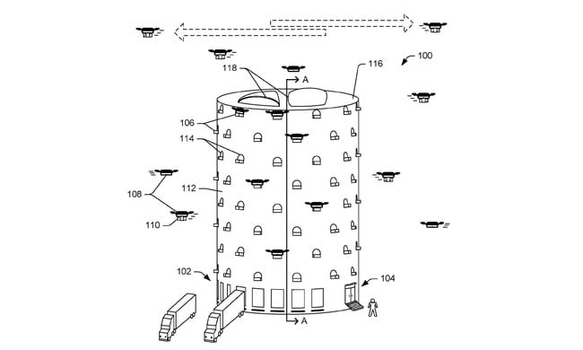
اگر به خاطر داشته باشید، آمازون چند وقتی می شود که سعی دارد از پهپادها برای شبکه تحویل مرسولات خود استفاده کند. تقریبا سه ماه پیش بود که این روش برای اولین بار در آمریکا به کارگرفته شد و کالا توسط پهپاد به دست کاربر رسید. آمازون به تازگی فرم پتنتی را پر نموده که به یک برج بلند مربوط می شود. این برج بلند استوانه ای با ساختار لانه زنبوری خود در واقع ترمینالی برای بارگیری و پرواز پهپادها است.
همانطور که در تصویر اسناد پتنت می بینید، کامیون ها مرسوله را ازدرگاه پایین برج وارد نموده و کالا به سمت بالا و در جایی که پهپاد انتظار آن را می کشد فرستاده می شود. در آنجا پهپاد بارگیری شده و به سمت آدرس گیرنده به پرواز در می آید. گویا آمازون این طرح را عمدتا برای بخش های اصلی و انبوه کلان شهرها در نظر دارد، جایی که تراکم واحدهای مسکونی بالا بوده و به همان نسبت هم درخواست برای سرویس های این شرکت بالاست. البته خدمات مرتبط با پهپاد صرفا در اختیار کاربران Prime آمازون قرار میگیرد؛ سرویسی که با دریافت مبلغ سالیانه 99 دلار، مجموعه ای از خدمات از پخش ویدیو و موسیقی گرفته تا ارسال سریع و رایگان کالا را در اختیار کاربر خود می گذارد.









دیدگاهتان را بنویسید